El componente Control de aplicaciones se utiliza para gestionar la ejecución de aplicaciones en los equipos de los usuarios. Permite, con ello, implementar una directiva de seguridad corporativa que regule el uso de aplicaciones. Gracias a las restricciones de acceso, el componente también ayuda a reducir el riesgo de que los equipos se infecten.
Los pasos para configurar Control de aplicaciones son los siguientes:
El administrador crea categorías con las aplicaciones que desea controlar. Las categorías de aplicaciones impactan en todos los equipos de una red corporativa, independientemente del grupo de administración al que pertenecen. Las categorías se crean sobre la base de distintos criterios: categoría KL (por ejemplo, Navegadores), hash del archivo, proveedor de la aplicación y otros.
El administrador crea reglas de Control de aplicaciones dentro de la directiva asignada a un grupo de administración. Las reglas contienen las distintas categorías de aplicaciones y el estado de ejecución (inicio permitido o bloqueado) asignado a las aplicaciones de esas categorías.
El administrador decide el modo para trabajar con aplicaciones que no están contempladas en ninguna de las reglas (lista de autorización y de bloqueo).
Cuando un usuario intenta ejecutar una aplicación prohibida, Kaspersky Endpoint Security se lo impide y le muestra una notificación (vea la imagen de más abajo).
Existe un modo de prueba, diseñado para verificar la configuración de Control de aplicaciones. Cuando se utiliza este modo, Kaspersky Endpoint Security hace lo siguiente:

Notificación de Control de aplicaciones
Modos de funcionamiento de Control de aplicaciones
El componente Control de aplicaciones funciona en dos modos:
Este modo de Control de aplicaciones está habilitado por defecto.
Si se configuran completamente las reglas de autorización del Control de aplicaciones, el componente bloquea el inicio de todas las aplicaciones nuevas que no han sido verificadas por el administrador de la red LAN, mientras que permite el funcionamiento del sistema operativo y de las aplicaciones de confianza de las que dependen los usuarios para hacer su trabajo.
Puede leer las recomendaciones sobre cómo configurar las reglas de control de aplicaciones en el modo de lista de autorización.
El Control de aplicaciones se puede configurar para funcionar en estos modos, tanto a través de la interfaz local de Kaspersky Endpoint Security como por medio de Kaspersky Security Center.
Sin embargo, Kaspersky Security Center ofrece herramientas que no están disponibles en la interfaz local de Kaspersky Endpoint Security, como las herramientas necesarias para las siguientes tareas:
Las reglas de Control de aplicaciones creadas en la Consola de administración de Kaspersky Security Center se basan en sus categorías de aplicaciones personalizadas, y no en condiciones de inclusión y exclusión como es el caso de la interfaz local de Kaspersky Endpoint Security.
Por este motivo se recomienda utilizar Kaspersky Security Center para configurar el funcionamiento del componente Control de aplicaciones.
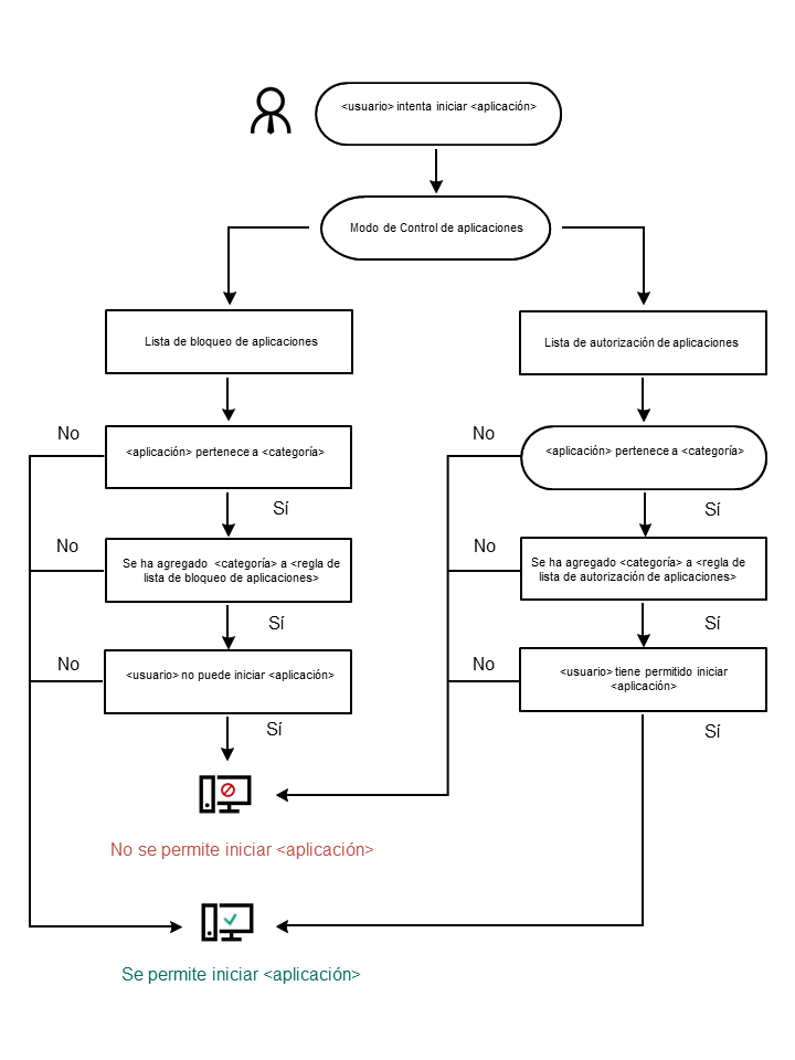
Algoritmo de funcionamiento de Control de aplicaciones
Kaspersky Endpoint Security utiliza un algoritmo para decidir si una aplicación podrá iniciarse (vea la siguiente imagen).

Algoritmo de funcionamiento de Control de aplicaciones
Parámetros del componente Control de aplicaciones
Parámetro |
Descripción |
|---|---|
Modo de prueba |
Si se activa el interruptor, Kaspersky Endpoint Security permitirá que una aplicación se inicie aunque el modo de Control de aplicaciones que esté en vigor requiera bloquearla, y dejará constancia de la ejecución en el informe. |
Modo de Control de aplicaciones |
Puede seleccionar una de las siguientes opciones:
Cuando se selecciona el modo Lista de admitidos, se crean automáticamente dos Reglas de control de aplicaciones:
No puede modificar la configuración ni eliminar las reglas creadas automáticamente. Puede habilitar o deshabilitar estas reglas. |
Controlar la carga de los módulos DLL (aumenta significativamente la carga del sistema) |
Si se selecciona la casilla, Kaspersky Endpoint Security controla la carga de módulos de DLL cuando los usuarios intentan iniciar aplicaciones. En el informe se registra información acerca del módulo de DLL y la aplicación que cargó el mismo. Si planea supervisar la carga de controladores y módulos DLL, asegúrese de que una de las siguientes reglas esté habilitada en la configuración de Control de aplicaciones: la Imagen de oro predeterminada u otra regla que contenga la categoría KL "Certificados de confianza" y que garantice que los módulos DLL y los controladores de confianza se carguen antes del arranque de Kaspersky Endpoint Security. Habilitar la supervisión de la carga de módulos DLL y controladores cuando la regla Imagen de oro está deshabilitada puede causar inestabilidad en el sistema operativo. Kaspersky Endpoint Security solamente supervisa los módulos DLL y los controladores cargados desde que se seleccionó la casilla. Después de seleccionar la casilla, se recomienda reiniciar el equipo para asegurarse de que la aplicación supervise todos los módulos y los controladores DLL, incluidos los cargados antes de que se inicie Kaspersky Endpoint Security. |
Plantillas de mensajes |
Mensaje para bloqueos. Plantilla del mensaje que se muestra al activarse una regla de Control de aplicaciones que impide iniciar una aplicación. Mensaje para el administrador. Plantilla del mensaje que el usuario le puede enviar al administrador de la LAN corporativa si considera que una aplicación se bloqueó por error. Después de que el usuario solicita proporcionar acceso, Kaspersky Endpoint Security envía un evento a Kaspersky Security Center: Mensaje de bloqueo del inicio de una aplicación para el administrador. La descripción del evento contiene un mensaje para el administrador con variables sustituidas. Puede ver estos eventos en la consola de Kaspersky Security Center a través de la selección de eventos predefinida Solicitudes de usuario. Si su organización no tiene implementado Kaspersky Security Center o no hay conexión con el Servidor de administración, la aplicación enviará un mensaje al administrador a la dirección de correo electrónico especificada. |