El componente Control de aplicaciones se utiliza para gestionar la ejecución de aplicaciones en los equipos de los usuarios. Permite, con ello, implementar una directiva de seguridad corporativa que regule el uso de aplicaciones. Gracias a las restricciones de acceso, el componente también ayuda a reducir el riesgo de que los equipos se infecten.
Los pasos para configurar Control de aplicaciones son los siguientes:
El administrador crea categorías con las aplicaciones que desea controlar. Las categorías de aplicaciones impactan en todos los equipos de una red corporativa, independientemente del grupo de administración al que pertenecen. Las categorías se crean sobre la base de distintos criterios: categoría KL (por ejemplo, Navegadores), hash del archivo, proveedor de la aplicación y otros.
El administrador crea reglas de Control de aplicaciones dentro de la directiva asignada a un grupo de administración. Las reglas contienen las distintas categorías de aplicaciones y el estado de ejecución (inicio permitido o bloqueado) asignado a las aplicaciones de esas categorías. El administrador puede crear la cantidad de reglas que desee. Una aplicación puede coincidir con los criterios de varias reglas. La prioridad de una regla de bloqueo es mayor que la prioridad de una regla de autorización. Kaspersky Endpoint Security comprueba si una aplicación coincide con una regla cada vez que se inicia. Kaspersky Endpoint Security compara de forma secuencial la aplicación con todas las reglas de Control de aplicaciones.
El administrador decide el modo para trabajar con aplicaciones que no están contempladas en ninguna de las reglas (lista de autorización y de bloqueo).
Cuando un usuario intenta ejecutar una aplicación prohibida, Kaspersky Endpoint Security se lo impide y le muestra una notificación (vea la imagen de más abajo).
Existe un modo de prueba, diseñado para verificar la configuración de Control de aplicaciones. Cuando se utiliza este modo, Kaspersky Endpoint Security hace lo siguiente:

Notificación de Control de aplicaciones
Modos de funcionamiento de Control de aplicaciones
El componente Control de aplicaciones funciona en dos modos:
Este modo de Control de aplicaciones está habilitado por defecto.
Si se configuran completamente las reglas de autorización del Control de aplicaciones, el componente bloquea el inicio de todas las aplicaciones nuevas que no han sido verificadas por el administrador de la red LAN, mientras que permite el funcionamiento del sistema operativo y de las aplicaciones de confianza de las que dependen los usuarios para hacer su trabajo.
Puede leer las recomendaciones sobre cómo configurar las reglas de control de aplicaciones en el modo de lista de autorización.
El Control de aplicaciones se puede configurar para funcionar en estos modos, tanto a través de la interfaz local de Kaspersky Endpoint Security como por medio de Kaspersky Security Center.
Sin embargo, Kaspersky Security Center ofrece herramientas que no están disponibles en la interfaz local de Kaspersky Endpoint Security, como las herramientas necesarias para las siguientes tareas:
Las reglas de Control de aplicaciones creadas en la Consola de administración de Kaspersky Security Center se basan en sus categorías de aplicaciones personalizadas, y no en condiciones de inclusión y exclusión como es el caso de la interfaz local de Kaspersky Endpoint Security.
Por este motivo se recomienda utilizar Kaspersky Security Center para configurar el funcionamiento del componente Control de aplicaciones.
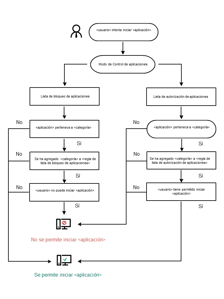
Algoritmo de funcionamiento de Control de aplicaciones
Kaspersky Endpoint Security utiliza un algoritmo para decidir si una aplicación podrá iniciarse (vea la siguiente imagen).

Algoritmo de funcionamiento de Control de aplicaciones