O Controle de aplicativos gerencia a inicialização de aplicativos nos computadores dos usuários. Isso permite que você implemente uma política de segurança corporativa ao usar aplicativos. O Controle de aplicativos também reduz o risco de infecção do computador, restringindo o acesso aos aplicativos.
A configuração do Controle de aplicativos consiste nas seguintes etapas:
O administrador cria categorias de aplicativos que o administrador deseja gerenciar. As categorias de aplicativos destinam-se a todos os computadores da rede corporativa, independentemente dos grupos de administração. Para criar uma categoria, você pode usar os seguintes critérios: Categoria KL (por exemplo, Navegadores), hash de arquivo, fornecedor do aplicativo e outros critérios.
O administrador cria regras de Controle de aplicativos na política para o grupo de administração. A regra inclui as categorias de aplicativos e o status de inicialização dos aplicativos dessas categorias: bloqueados ou permitidos. O administrador pode criar muitas regras. Um aplicativo pode corresponder aos critérios de várias regras. A prioridade da regra de bloqueio é mais alta do que a de permissão. O Kaspersky Endpoint Security verifica se um aplicativo corresponde a uma regra sempre que for iniciado. O Kaspersky Endpoint Security compara sequencialmente o aplicativo com todas as regras de Controle de Aplicativos.
O administrador escolhe o modo para trabalhar com aplicativos que não estão incluídos em nenhuma das regras: (Lista de bloqueio e de permissão de aplicativos).
Quando um usuário tenta iniciar um aplicativo proibido, o Kaspersky Endpoint Security impede o início do aplicativo e exibe uma notificação (veja a figura abaixo).
Um modo de teste é fornecido para verificar a configuração do Controle de aplicativos. Nesse modo, o Kaspersky Endpoint Security faz o seguinte:

Notificações do Controle de aplicativos
Modos de operação do Controle de aplicativos
O componente Controle de aplicativos opera em dois modos:
Esse modo de Controle de aplicativos é ativado por padrão.
Se as regras de permissão do Controle de aplicativos estiverem totalmente configuradas, o componente bloqueará a inicialização de todos os novos aplicativos que não foram verificados pelo administrador da LAN, enquanto permite a operação do sistema operacional e dos aplicativos confiáveis nos quais os usuários confiam no trabalho.
Você pode ler as recomendações sobre a configuração de regras de Controle de aplicativos no modo de lista de permissão.
O Controle de aplicativos pode ser configurado para operar nesses modos, usando a interface local do Kaspersky Endpoint Security e usando o Kaspersky Security Center.
No entanto, o Kaspersky Security Center oferece ferramentas que não estão disponíveis na interface local do Kaspersky Endpoint Security, como as ferramentas necessárias para as seguintes tarefas:
As regras de Controle de aplicativos criadas no console de administração do Kaspersky Security Center são baseadas nas categorias de aplicativos personalizadas e não nas condições de inclusão e exclusão, como é o caso da interface local do Kaspersky Endpoint Security.
É por isso que é recomendável usar o Kaspersky Security Center para configurar a operação do componente Controle de aplicativos.
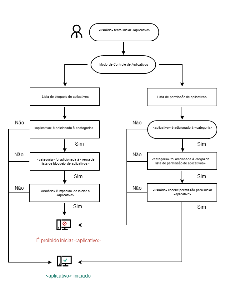
Algoritmo de operação do controle de aplicativos
O Kaspersky Endpoint Security usa um algoritmo para tomar uma decisão sobre iniciar um aplicativo (veja a figura abaixo).

Algoritmo de operação do controle de aplicativos