Application Control

Application Control administreazăă pornirea aplicațiilor pe computerele utilizatorilor. Acest lucru vă permite să implementați o politică de securitate corporativă atunci când utilizați aplicații. Application Control reduce, de asemenea, riscul de infectare a computerului prin restricționarea accesului la aplicații.

Configurarea componentei Application Control constă în următorii pași:

  1. Crearea categoriilor de aplicații.

    Administratorul creează categorii de aplicații pe care administratorul dorește să le administreze. Categoriile de aplicații sunt destinate tuturor computerelor din rețeaua corporativă, indiferent de grupurile de administrare. Pentru a crea o categorie, puteți utiliza următoarele criterii: Categoria KL (de exemplu, Browsers), cod hash fișier, vânzător aplicații și alte criterii.

  2. Crearea regulilor Application Control.

    Administratorul creează reguli pentru componenta Application Control în politica pentru grupul de administrare. Regula include categoriile de aplicații și starea de pornire a aplicațiilor din aceste categorii: blocate sau permise.

  3. Selectarea modului Application Control.

    Administratorul alege modul de lucru cu aplicațiile care nu sunt incluse în niciuna dintre reguli (lista de aplicații respinse sau lista permise).

Când un utilizator încearcă să pornească o aplicație interzisă, Kaspersky Endpoint Security va bloca pornirea aplicației și va afișa o notificare (consultați figura de mai jos).

Este oferit un mod de testare pentru a verifica configurația componentei Application Control. În acest mod, Kaspersky Endpoint Security face următoarele:

Modurile de funcționare pentru componenta Application Control

Componenta Application Control funcționează în două moduri:

Componenta Application Control poate fi configurată să funcționeze în aceste moduri atât folosind interfața locală Kaspersky Endpoint Security, cât și folosind Kaspersky Security Center.

Cu toate acestea, Kaspersky Security Center oferă instrumente care nu sunt disponibile în interfața locală Kaspersky Endpoint Security, cum ar fi instrumentele care sunt necesare pentru următoarele activități:

De aceea se recomandă utilizarea Kaspersky Security Center pentru a configura funcționarea componentei Application Control.

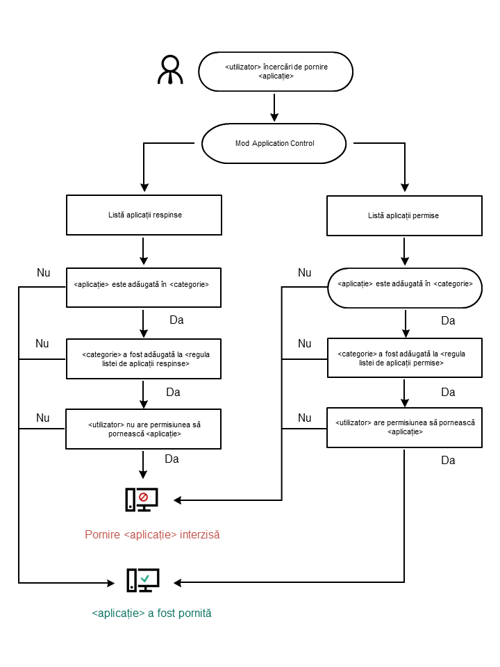
Algoritmul de funcționare al componentei Application Control

Kaspersky Endpoint Security folosește un algoritm pentru a lua o decizie cu privire la pornirea unei aplicații (consultați figura de mai jos).

Algoritmul de funcționare al componentei Application Control

Setările componentei Application Control

Parametru

Descriere

Acțiune la pornirea aplicațiilor blocate de reguli

Aplicare reguli. Kaspersky Endpoint Security gestionează pornirea aplicațiilor în funcție de modul selectat.

Reguli testare. Kaspersky Endpoint Security permite pornirea aplicației care este blocată în modul curent pentru Application Control, dar înregistrează informațiile despre pornirea sa în raport.

Modul Control la pornirea aplicației

Poți alege una dintre următoarele opțiuni:

  • Listă respinse. Dacă este selectată această opțiune, Application Control permite tuturor utilizatorilor să pornească orice aplicație, cu excepția cazurilor care satisfac condițiile din regulile de blocare din Application Control.
  • Listă permise. Dacă este selectată această opțiune, Application Control blochează toți utilizatorii să pornească orice aplicație, cu excepția cazurilor care satisfac condițiile din regulile de permitere din Application Control.

Când este selectat modul Listă permise, sunt create automat două reguli Application Control:

  • Imagine de aur.
  • Programe de actualizare de încredere.

Nu poți edita setările și nu poți șterge aceste reguli create automat. Poți să activezi sau să dezactivezi aceste reguli.

Controlează încărcarea modulelor DLL

Dacă această casetă de selectare este bifată, Kaspersky Endpoint Security controlează încărcarea modulelor DLL atunci când utilizatorii încearcă să pornească aplicații. Informațiile despre modulul DLL și aplicația care a încărcat acest modul DLL sunt înregistrate în raport.

Atunci când activați controlul asupra încărcării modulelor și driverelor DLL, asigurați-vă că în setările componentei Application Control este activată una dintre următoarele reguli: regula implicită Imagine de aur sau o altă regulă care conține categoria KL „Certificate de încredere” și care se asigură că modulele și driverele DLL de încredere sunt încărcate înainte de pornirea Kaspersky Endpoint Security. Activarea controlului încărcării modulelor și driverelor DLL când regula Imagine de aur este dezactivată poate duce la instabilitatea sistemului de operare.

Kaspersky Endpoint Security monitorizează numai modulele și driverele DLL care au fost încărcate după bifarea casetei de selectare. După bifarea casetei de selectare, este recomandat să reporniți computerul pentru a vă asigura că aplicația monitorizează toate modulele și driverele DLL, inclusiv cele încărcate înainte de pornirea Kaspersky Endpoint Security.

Șabloanele mesajelor despre blocarea aplicației

Mesaj despre blocare. Șablonul mesajului care se afișează atunci când este declanșată o regulă Application Control care blochează pornirea unei aplicații.

Mesaj către administrator. Șablon al mesajului pe care un utilizator îl poate trimite administratorului rețelei LAN corporative dacă utilizatorul consideră că o aplicație a fost blocată din greșeală. După ce utilizatorul solicită accesul, Kaspersky Endpoint Security trimite un eveniment către Kaspersky Security Center: Mesaj către administrator privind blocarea pornirii aplicației. Descrierea evenimentului conține un mesaj către administrator cu variabile înlocuite. Puteți vizualiza aceste evenimente în consola Kaspersky Security Center, utilizând selecția de evenimente predefinită User requests. Dacă organizația dvs. nu are instalat Kaspersky Security Center sau nu există nicio conexiune la serverul de administrare, aplicația va trimite un mesaj administratorului la adresa de e-mail specificată.

Consultă și: Gestionarea aplicației prin intermediul interfeței locale

Limitări în funcționalitatea componentei Application Control

Activarea și dezactivarea componentei Application Control

Administrarea regulilor Application Control

Testarea regulilor Application Control

Selectarea modului Application Control

Reguli pentru crearea măștilor de nume pentru fișiere sau directoare

Editarea șabloanelor de mesaje aferente componentei Application Control

Începutul paginii