Controlo das Aplicações

O Controlo das Aplicações gere a inicialização de aplicações nos computadores dos utilizadores. Isso permite-lhe implementar uma política de segurança empresarial ao usar aplicações. O Controlo das Aplicações reduz também o risco de infeção do computador, restringindo o acesso às aplicações.

A configuração do Controlo das Aplicações consiste nas seguintes etapas:

  1. Criar categorias de aplicações.

    O administrador cria categorias de aplicações que o administrador deseja gerir. As categorias de aplicações destinam-se a todos os computadores da rede empresarial, independentemente dos grupos de administração. Para criar uma categoria, pode utilizar os seguintes critérios: categoria KL (por exemplo, Browsers ), hash do ficheiro, fornecedor da aplicação e outros critérios.

  2. Criar Regras de Controlo das Aplicações.

    O administrador cria regras do Controlo das aplicações na política para o grupo de administração. A regra inclui as categorias de aplicações e o estado de inicialização das aplicações destas categorias: bloqueados ou permitidos. O administrador pode criar muitas regras. Uma aplicação pode corresponder aos critérios de várias regras. A prioridade de uma regra de bloqueio é superior à prioridade de uma regra de permissão. O Kaspersky Endpoint Security verifica se uma aplicação corresponde a uma regra sempre que é iniciado. O Kaspersky Endpoint Security compara sequencialmente a aplicação com todas as regras do Controlo de aplicações.

  3. Selecionar o modo de Controlo das Aplicações.

    O administrador escolhe o modo para trabalhar com aplicações que não estão incluídas em nenhuma das regras (lista de bloqueio e lista de permissão de aplicações).

Quando um utilizador tenta iniciar uma aplicação proibida, o Kaspersky Endpoint Security impede o início da aplicação e exibe uma notificação (ver a figura abaixo).

Um modo de teste é fornecido para verificar a configuração do Controlo das Aplicações. Neste modo, o Kaspersky Endpoint Security faz o seguinte:

Modos de funcionamento do Controlo das Aplicações

O componente Controlo das Aplicações funciona em dois modos:

O Controlo das Aplicações pode ser configurado para funcionar nestes modos com a interface local do Kaspersky Endpoint Security e utilizando o Kaspersky Security Center.

Contudo, o Kaspersky Security Center fornece ferramentas que não estão disponíveis na interface local do Kaspersky Endpoint Security, como por exemplo, as ferramentas necessárias para as tarefas seguintes:

Por este motivo, recomenda-se a utilização do Kaspersky Security Center para configurar o funcionamento do componente Controlo das Aplicações.

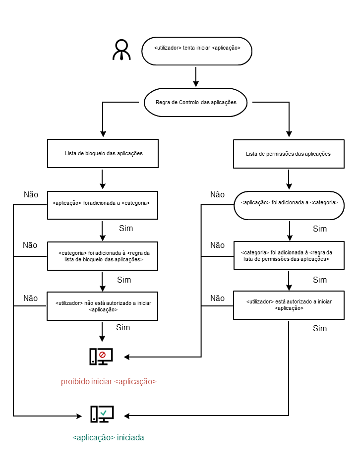
Algoritmo operacional do Controlo das Aplicações

O Kaspersky Endpoint Security usa um algoritmo para tomar uma decisão sobre o início de uma aplicação (ver a figura abaixo).

Algoritmo operacional do Controlo das Aplicações

Nesta secção

Limitações da funcionalidade de Controlo das Aplicações

Receber informações sobre as aplicações instaladas nos computadores dos utilizadores

Ativar e desativar o Controlo das Aplicações

Selecionar o modo de Controlo das Aplicações

Gerir as regras de Controlo das aplicações

Testar Regras de Controlo das Aplicações

Monitor de atividade das aplicações

Regras para criar máscaras de nome para ficheiros ou pastas

Editar modelos de mensagens do Controlo das Aplicações

Melhores práticas para implementar uma lista de aplicações permitidas

Topo da página