Kontrola aplikacji zarządza uruchamianiem aplikacji na komputerach użytkowników. Pozwala to na wdrożenie polityki bezpieczeństwa firmy podczas korzystania z aplikacji. Kontrola aplikacji zmniejsza także ryzyko infekcji komputera poprzez ograniczenie dostępu do aplikacji.
Konfiguracja Kontroli aplikacji obejmuje następujące kroki:
Administrator tworzy kategorie aplikacji, którymi chce zarządzać. Kategorie aplikacji są przeznaczone dla wszystkich komputerów w sieci firmowej, niezależnie od grup administracyjnych. Aby utworzyć kategorię, możesz użyć następujących kryteriów: kategoria KL (na przykład: Przeglądarki ), suma kontrolna pliku, dostawca aplikacji i inne kryteria.
Administrator tworzy reguły Kontroli aplikacji w zasadzie dla grupy administracyjnej. Reguła obejmuje kategorie aplikacji i stan uruchamiania aplikacji z tych kategorii: zablokowane lub dozwolone.
Administrator wybiera tryb pracy z aplikacjami, które nie są uwzględnione w żadnej z reguł (lista zablokowanych i lista zezwolonych).
Jeśli użytkownik spróbuje uruchomić niedozwoloną aplikację, Kaspersky Endpoint Security zablokuje uruchomienie aplikacji i wyświetli powiadomienie (patrz rysunek poniżej).
Tryb testowy służy do sprawdzania konfiguracji Kontroli aplikacji. W tym trybie Kaspersky Endpoint Security wykonuje następujące czynności:

Powiadomienie Kontroli aplikacji
Tryby działania Kontroli aplikacji
Komponent Kontrola aplikacji działa w dwóch trybach:
Ten tryb jest włączony domyślnie.
Jeżeli reguły zezwalające Kontroli aplikacji zostaną w pełni skonfigurowane, moduł zablokuje uruchamianie wszystkich nowych aplikacji, które nie zostały zweryfikowane przez administratora sieci LAN, natomiast zezwoli na działanie systemu operacyjnego i zaufanych aplikacji potrzebnych użytkownikom w ich pracy.
Możesz przeczytać zalecenia odnośnie konfiguracji reguł Kontroli aplikacji w trybie listy zezwolonych.
Moduł Kontrola aplikacji można skonfigurować do pracy w tych trybach, korzystając z lokalnego interfejsu Kaspersky Endpoint Security oraz programu Kaspersky Security Center.
Jednakże Kaspersky Security Center oferuje narzędzia, które nie są dostępne w lokalnym interfejsie Kaspersky Endpoint Security, a które są potrzebne do:
Reguły Kontroli aplikacji utworzone w Konsoli administracyjnej Kaspersky Security Center są oparte o niestandardowe kategorie aplikacji, a nie o warunki włączenia i wykluczenia, jak ma to miejsce w przypadku lokalnego interfejsu Kaspersky Endpoint Security.
Dlatego zalecane jest korzystanie z Kaspersky Security Center podczas konfigurowania działania modułu Kontrola aplikacji.
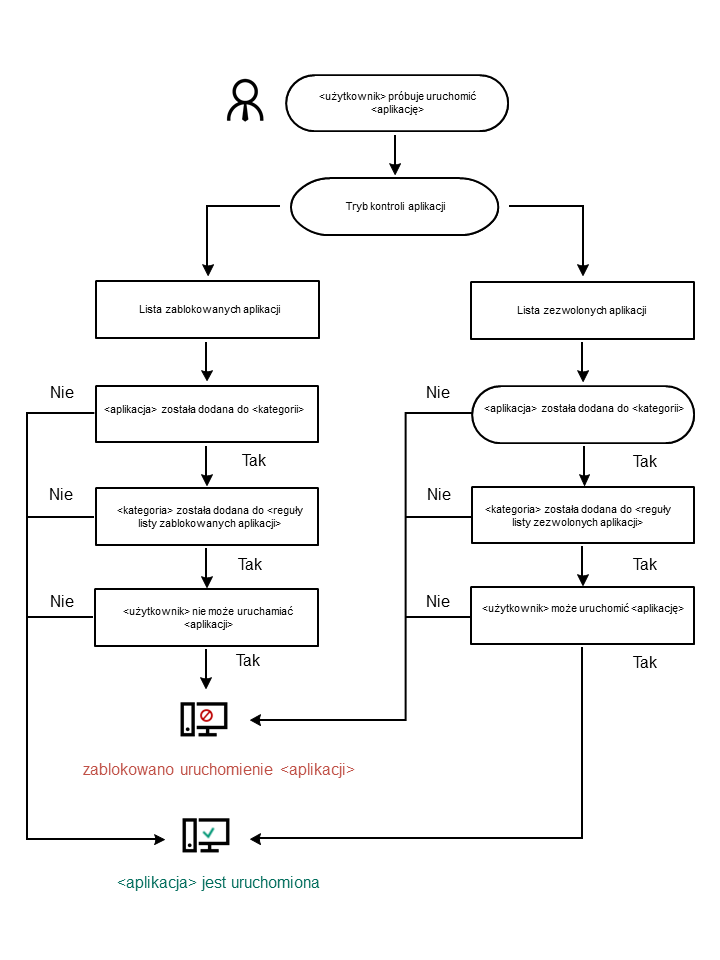
Algorytm działania Kontroli aplikacji
Kaspersky Endpoint Security wykorzystuje algorytm do podjęcia decyzji o uruchomieniu aplikacji (patrz rysunek poniżej).

Algorytm działania Kontroli aplikacji