O Controlo das Aplicações gere a inicialização de aplicações nos computadores dos utilizadores. Isso permite-lhe implementar uma política de segurança empresarial ao usar aplicações. O Controlo das Aplicações reduz também o risco de infeção do computador, restringindo o acesso às aplicações.
A configuração do Controlo das Aplicações consiste nas seguintes etapas:
O administrador cria categorias de aplicações que o administrador deseja gerir. As categorias de aplicações destinam-se a todos os computadores da rede empresarial, independentemente dos grupos de administração. Para criar uma categoria, pode utilizar os seguintes critérios: categoria KL (por exemplo, Browsers ), hash do ficheiro, fornecedor da aplicação e outros critérios.
O administrador cria regras do Controlo das aplicações na política para o grupo de administração. A regra inclui as categorias de aplicações e o estado de inicialização das aplicações destas categorias: bloqueados ou permitidos.
O administrador escolhe o modo para trabalhar com aplicações que não estão incluídas em nenhuma das regras (lista de bloqueio e lista de permissão de aplicações).
Quando um utilizador tenta iniciar uma aplicação proibida, o Kaspersky Endpoint Security impede o início da aplicação e exibe uma notificação (ver a figura abaixo).
Um modo de teste é fornecido para verificar a configuração do Controlo das Aplicações. Neste modo, o Kaspersky Endpoint Security faz o seguinte:

Notificação do Controlo das Aplicações
Modos de funcionamento do Controlo das Aplicações
O componente Controlo das Aplicações funciona em dois modos:
Este modo do Controlo das Aplicações está ativado, por predefinição.
Se as regras de permissão do Controlo das Aplicações estiverem configuradas na íntegra, o componente bloqueia o arranque de todas as novas aplicações que não tenham sido verificadas pelo administrador da rede local e permite o funcionamento do sistema operativo e das aplicações fiáveis das quais os utilizadores dependem para realizarem as suas tarefas.
Pode ler as recomendações sobre a configuração das Regras de Controlo das Aplicações no modo de lista de permissão.
O Controlo das Aplicações pode ser configurado para funcionar nestes modos com a interface local do Kaspersky Endpoint Security e utilizando o Kaspersky Security Center.
Contudo, o Kaspersky Security Center fornece ferramentas que não estão disponíveis na interface local do Kaspersky Endpoint Security, como por exemplo, as ferramentas necessárias para as tarefas seguintes:
As Regras de Controlo das aplicações criadas na Consola de Administração do Kaspersky Security Center baseiam-se nas suas categorias de aplicações personalizadas e não nas condições de inclusão ou de exclusão, como na interface local do Kaspersky Endpoint Security.
Por este motivo, recomenda-se a utilização do Kaspersky Security Center para configurar o funcionamento do componente Controlo das Aplicações.
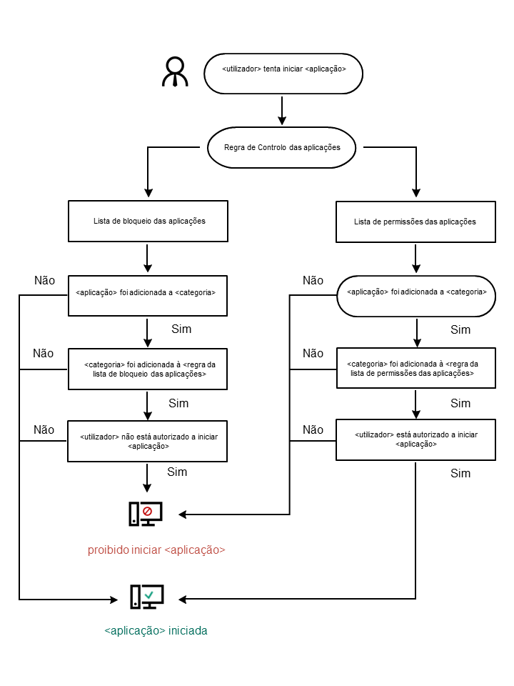
Algoritmo operacional do Controlo das Aplicações
O Kaspersky Endpoint Security usa um algoritmo para tomar uma decisão sobre o início de uma aplicação (ver a figura abaixo).

Algoritmo operacional do Controlo das Aplicações