Kontrola aplikacji

Kontrola aplikacji zarządza uruchamianiem aplikacji na komputerach użytkowników. Pozwala to na wdrożenie polityki bezpieczeństwa firmy podczas korzystania z aplikacji. Kontrola aplikacji zmniejsza także ryzyko infekcji komputera poprzez ograniczenie dostępu do aplikacji.

Konfiguracja Kontroli aplikacji obejmuje następujące kroki:

  1. Tworzenia kategorii aplikacji.

    Administrator tworzy kategorie aplikacji, którymi chce zarządzać. Kategorie aplikacji są przeznaczone dla wszystkich komputerów w sieci firmowej, niezależnie od grup administracyjnych. Aby utworzyć kategorię, możesz użyć następujących kryteriów: kategoria KL (na przykład: Przeglądarki ), suma kontrolna pliku, dostawca aplikacji i inne kryteria.

  2. Tworzenie reguł Kontroli aplikacji.

    Administrator tworzy reguły Kontroli aplikacji w zasadzie dla grupy administracyjnej. Reguła obejmuje kategorie aplikacji i stan uruchamiania aplikacji z tych kategorii: zablokowane lub dozwolone.

  3. Wybieranie trybu Kontroli aplikacji.

    Administrator wybiera tryb pracy z aplikacjami, które nie są uwzględnione w żadnej z reguł (lista zablokowanych i lista zezwolonych).

Jeśli użytkownik spróbuje uruchomić niedozwoloną aplikację, Kaspersky Endpoint Security zablokuje uruchomienie aplikacji i wyświetli powiadomienie (patrz rysunek poniżej).

Tryb testowy służy do sprawdzania konfiguracji Kontroli aplikacji. W tym trybie Kaspersky Endpoint Security wykonuje następujące czynności:

Tryby działania Kontroli aplikacji

Komponent Kontrola aplikacji działa w dwóch trybach:

Moduł Kontrola aplikacji można skonfigurować do pracy w tych trybach, korzystając z lokalnego interfejsu Kaspersky Endpoint Security oraz programu Kaspersky Security Center.

Jednakże Kaspersky Security Center oferuje narzędzia, które nie są dostępne w lokalnym interfejsie Kaspersky Endpoint Security, a które są potrzebne do:

Dlatego zalecane jest korzystanie z Kaspersky Security Center podczas konfigurowania działania modułu Kontrola aplikacji.

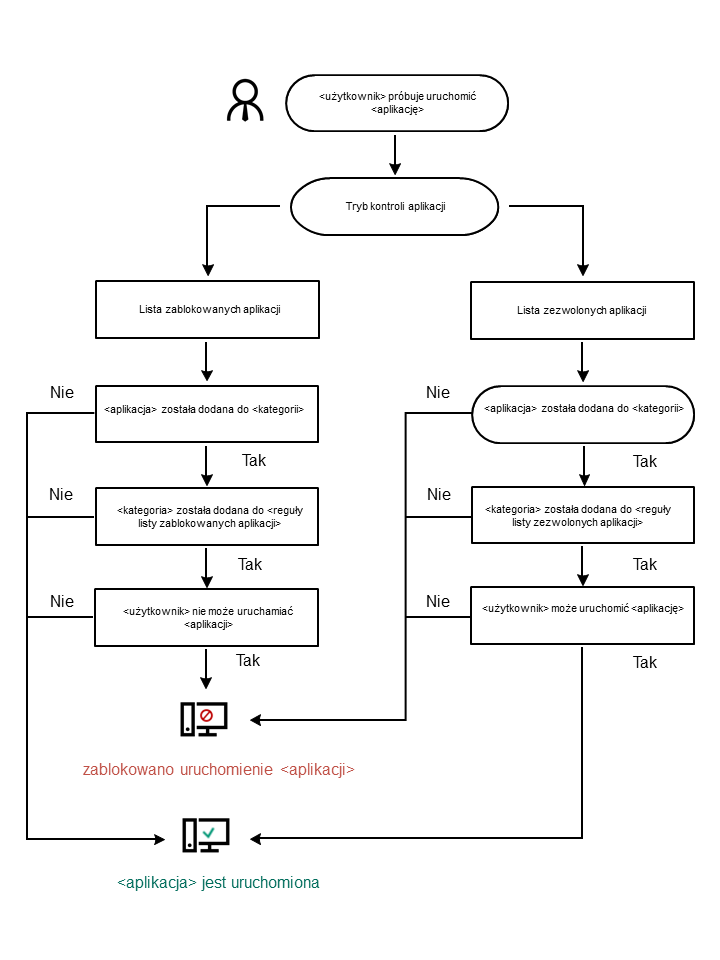
Algorytm działania Kontroli aplikacji

Kaspersky Endpoint Security wykorzystuje algorytm do podjęcia decyzji o uruchomieniu aplikacji (patrz rysunek poniżej).

Algorytm działania Kontroli aplikacji

W tej sekcji

Ograniczenia funkcjonalności Kontroli aplikacji

Otrzymywanie informacji o aplikacjach zainstalowanych na komputerach użytkowników

Włączanie i wyłączanie modułu Kontrola aplikacji

Wybieranie trybu Kontroli aplikacji

Zarządzanie regułami Kontroli aplikacji

Testowanie działania reguł Kontroli aplikacji

Monitor aktywności aplikacji

Reguły tworzenia masek nazw dla plików i folderów

Modyfikowanie szablonów wiadomości Kontroli aplikacji

Praktyczne zastosowanie aplikacji w celu zaimplementowania listy dozwolonych aplikacji

Przejdź do góry