Controle de aplicativos

O Controle de aplicativos gerencia a inicialização de aplicativos nos computadores dos usuários. Isso permite que você implemente uma política de segurança corporativa ao usar aplicativos. O Controle de aplicativos também reduz o risco de infecção do computador, restringindo o acesso aos aplicativos.

A configuração do Controle de aplicativos consiste nas seguintes etapas:

  1. Criar categorias de aplicativos.

    O administrador cria categorias de aplicativos que o administrador deseja gerenciar. As categorias de aplicativos destinam-se a todos os computadores da rede corporativa, independentemente dos grupos de administração. Para criar uma categoria, você pode usar os seguintes critérios: Categoria KL (por exemplo, navegadores), hash de arquivo, fornecedor do aplicativo e outros critérios.

  2. Criar regras de Controle de aplicativos.

    O administrador cria regras de Controle de aplicativos na política para o grupo de administração. A regra inclui as categorias de aplicativos e o status de inicialização dos aplicativos dessas categorias: bloqueados ou permitidos.

  3. Selecionar o modo de Controle de aplicativos.

    O administrador escolhe o modo para trabalhar com aplicativos que não estão incluídos em nenhuma das regras: (Lista de bloqueio e de permissão de aplicativos).

Quando um usuário tenta iniciar um aplicativo proibido, o Kaspersky Endpoint Security impede o início do aplicativo e exibe uma notificação (veja a figura abaixo).

Um modo de teste é fornecido para verificar a configuração do Controle de aplicativos. Nesse modo, o Kaspersky Endpoint Security faz o seguinte:

Modos de operação do Controle de aplicativos

O componente Controle de aplicativos opera em dois modos:

O Controle de aplicativos pode ser configurado para operar nesses modos, usando a interface local do Kaspersky Endpoint Security e usando o Kaspersky Security Center.

No entanto, o Kaspersky Security Center oferece ferramentas que não estão disponíveis na interface local do Kaspersky Endpoint Security, como as ferramentas necessárias para as seguintes tarefas:

É por isso que é recomendável usar o Kaspersky Security Center para configurar a operação do componente Controle de aplicativos.

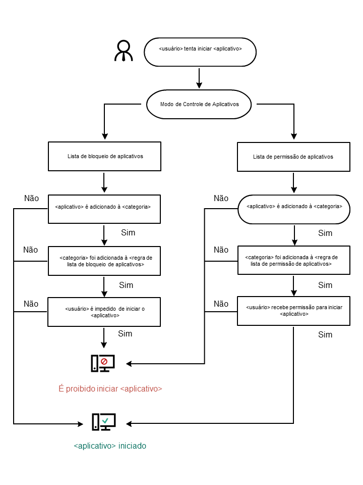
Algoritmo de operação do controle de aplicativos

O Kaspersky Endpoint Security usa um algoritmo para tomar uma decisão sobre iniciar um aplicativo (veja a figura abaixo).

Algoritmo de operação do controle de aplicativos

Nesta seção

Limitações de funcionalidade do Controle de Aplicativos

Recepção de informações sobre os aplicativos que estão instalados nos computadores dos usuários

Ativar e desativar o Controle de Aplicativos

Selecionar o modo do Controle de Aplicativos

Gerenciar regras de Controle de Aplicativos

Testar as regras de Controle de Aplicativos

Monitoramento de atividades do aplicativo

Regras para criar máscaras de nome para arquivos ou pastas

Editar modelos de mensagem de Controle de Aplicativos

Melhores práticas para implementar uma lista de aplicativos permitidos

Início da página