O Controle de aplicativos gerencia a inicialização de aplicativos nos computadores dos usuários. Isso permite que você implemente uma política de segurança corporativa ao usar aplicativos. O Controle de aplicativos também reduz o risco de infecção do computador, restringindo o acesso aos aplicativos.
A configuração do Controle de aplicativos consiste nas seguintes etapas:
O administrador cria categorias de aplicativos que o administrador deseja gerenciar. As categorias de aplicativos destinam-se a todos os computadores da rede corporativa, independentemente dos grupos de administração. Para criar uma categoria, você pode usar os seguintes critérios: Categoria KL (por exemplo, navegadores), hash de arquivo, fornecedor do aplicativo e outros critérios.
O administrador cria regras de Controle de aplicativos na política para o grupo de administração. A regra inclui as categorias de aplicativos e o status de inicialização dos aplicativos dessas categorias: bloqueados ou permitidos.
O administrador escolhe o modo para trabalhar com aplicativos que não estão incluídos em nenhuma das regras: (Lista de bloqueio e de permissão de aplicativos).
Quando um usuário tenta iniciar um aplicativo proibido, o Kaspersky Endpoint Security impede o início do aplicativo e exibe uma notificação (veja a figura abaixo).
Um modo de teste é fornecido para verificar a configuração do Controle de aplicativos. Nesse modo, o Kaspersky Endpoint Security faz o seguinte:

Notificações do Controle de aplicativos
Modos de operação do Controle de aplicativos
O componente Controle de aplicativos opera em dois modos:
Esse modo de Controle de aplicativos é ativado por padrão.
Se as regras de permissão do Controle de aplicativos estiverem totalmente configuradas, o componente bloqueará a inicialização de todos os novos aplicativos que não foram verificados pelo administrador da LAN, enquanto permite a operação do sistema operacional e dos aplicativos confiáveis nos quais os usuários confiam no trabalho.
Você pode ler as recomendações sobre a configuração de regras de Controle de aplicativos no modo de lista de permissão.
O Controle de aplicativos pode ser configurado para operar nesses modos, usando a interface local do Kaspersky Endpoint Security e usando o Kaspersky Security Center.
No entanto, o Kaspersky Security Center oferece ferramentas que não estão disponíveis na interface local do Kaspersky Endpoint Security, como as ferramentas necessárias para as seguintes tarefas:
As regras de Controle de aplicativos criadas no console de administração do Kaspersky Security Center são baseadas nas categorias de aplicativos personalizadas e não nas condições de inclusão e exclusão, como é o caso da interface local do Kaspersky Endpoint Security.
É por isso que é recomendável usar o Kaspersky Security Center para configurar a operação do componente Controle de aplicativos.
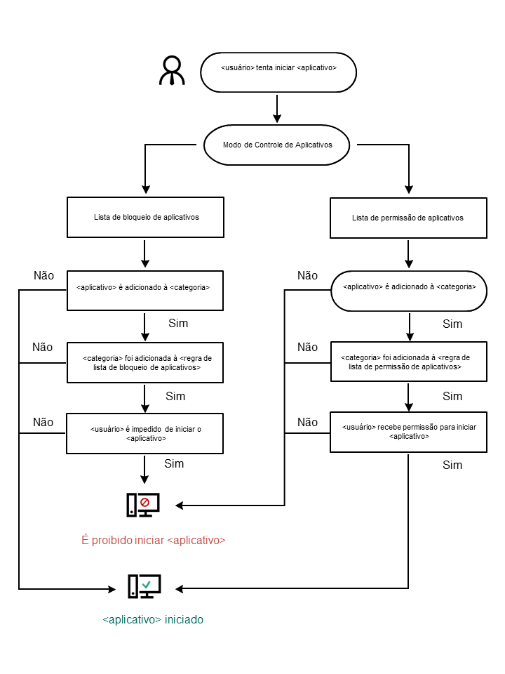
Algoritmo de operação do controle de aplicativos
O Kaspersky Endpoint Security usa um algoritmo para tomar uma decisão sobre iniciar um aplicativo (veja a figura abaixo).

Algoritmo de operação do controle de aplicativos
Configurações do componente Controle de Aplicativos
Parâmetro |
Descrição |
|---|---|
Ação bloqueada por regras durante inicialização de aplicativos |
Aplicar regras. O Kaspersky Endpoint Security gerencia a inicialização de aplicativos de acordo com o modo selecionado. Testar regras. O Kaspersky Endpoint Security permitirá a inicialização de um aplicativo que esteja bloqueado no modo atual do Controle de Aplicativos, mas registrará informações sobre a sua inicialização no relatório. |
Modo Controle de Inicialização do Aplicativo |
Você pode escolher uma das seguintes opções:
Quando o modo Lista de permissão é selecionado, duas regras de Controle de Aplicativos são automaticamente criadas:
Você não pode editar as configurações de ou apagar regras automaticamente criadas. Você pode ativar ou desativar estas regras. |
Monitorar o carregamento de módulos DLL |
Se a caixa de seleção for marcada, o Kaspersky Endpoint Security controlará o carregamento de módulos DLL quando os usuários tentarem iniciar aplicativos. As informações sobre o módulo DLL e o aplicativo que carregou este módulo DLL são registradas no relatório. Ao ativar o controle sobre o carregamento de módulos DLL e drivers, certifique-se de que uma das regras a seguir seja ativada nas configurações do Controle de Aplicativos: a regra Golden Image padrão ou outra regra que contenha a categoria KL de "Certificados confiáveis" e garanta que os módulos DLL e drivers confiáveis sejam carregados antes da inicialização do Kaspersky Endpoint Security. A ativação do controle de carregamento de módulos DLL e drivers quando a regra Golden Image é desativada pode causar instabilidade no sistema operacional. O Kaspersky Endpoint Security monitora somente os módulos DLL e drivers carregados desde que a caixa de seleção foi marcada. Depois de marcar a caixa de seleção, é recomendável reiniciar o computador para garantir que o aplicativo monitore todos os módulos DLL e drivers, incluindo aqueles carregados antes do Kaspersky Endpoint Security iniciar. |
Modelos de mensagens sobre o bloqueio de aplicativo |
Mensagem sobre bloqueio. Modelo da mensagem que é exibida quando uma regra de Controle de Aplicativos que impede a inicialização de um aplicativo é acionada. Mensagem para o administrador. Modelo da mensagem que um usuário pode enviar ao administrador da rede local corporativa, se o usuário acreditar que um aplicativo foi bloqueado por engano. Depois que o usuário solicitar o acesso, o Kaspersky Endpoint Security envia um evento ao Kaspersky Security Center: Mensagem de bloqueio de inicialização do aplicativo para o administrador. A descrição do evento contém uma mensagem ao administrador com variáveis substituídas. É possível visualizar esses eventos no console do Kaspersky Security Center com o uso da seleção de eventos predefinida Pedidos de usuário. Caso sua organização não tenha o Kaspersky Security Center implantado ou não haja conexão com o Servidor de Administração, o aplicativo enviará uma mensagem ao administrador para o endereço de e-mail especificado. |