Control de aplicaciones

El Control de aplicaciones gestiona el inicio de aplicaciones en los equipos de los usuarios. Esto le permite implementar una directiva corporativa de seguridad al usar aplicaciones. El Control de aplicaciones también reduce el riesgo de infección del equipo al restringir el acceso a las aplicaciones.

La configuración del Control de aplicaciones consta de los siguientes pasos:

  1. Creación de categorías de aplicaciones.

    El administrador crea categorías de aplicaciones que el administrador quiere gestionar. Las categorías de aplicaciones están destinadas a todos los equipos de la red corporativa, independientemente de los grupos de administración. Para crear una categoría, puede usar los siguientes criterios: categoría KL (por ejemplo, Navegadores), hash de archivo, proveedor de aplicaciones y otros criterios.

  2. Crear reglas de Control de aplicaciones.

    El administrador crea reglas de Control de aplicaciones en la directiva para el grupo de administración. La regla incluye las categorías de aplicaciones y el estado de inicio de las aplicaciones de estas categorías: bloqueadas o permitidas.

  3. Seleccionar el modo de Control de aplicaciones.

    El administrador elige el modo para trabajar con las aplicaciones que no estén incluidas en ninguna de las reglas (listas de aplicaciones admitidas y rechazadas).

Cuando un usuario intenta iniciar una aplicación prohibida, Kaspersky Endpoint Security bloqueará el inicio de dicha aplicación y mostrará una notificación (vea la figura a continuación).

Se proporciona un modo de prueba para comprobar la configuración de Control de aplicaciones. En este modo, Kaspersky Endpoint Security hace lo siguiente:

Modos de funcionamiento de Control de aplicaciones

El componente Control de aplicaciones funciona en dos modos:

El Control de aplicaciones puede configurarse para que funcione en estos modos tanto mediante la interfaz local de Kaspersky Endpoint Security como mediante Kaspersky Security Center.

Sin embargo, Kaspersky Security Center ofrece herramientas que no están disponibles en la interfaz local de Kaspersky Endpoint Security, como las herramientas que son necesarias para las siguientes tareas:

Por eso, se recomienda usar Kaspersky Security Center para configurar el funcionamiento del componente Control de aplicaciones.

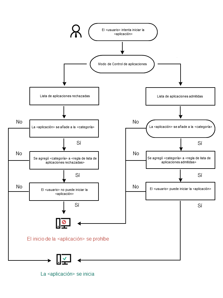
Algoritmo de funcionamiento de Control de aplicaciones

Kaspersky Endpoint Security utiliza un algoritmo para tomar una decisión sobre el inicio de una aplicación (vea la figura a continuación).

Algoritmo de funcionamiento de Control de aplicaciones

Parámetros del componente Control de aplicaciones

Parámetro

Descripción

Acción al iniciar aplicaciones bloqueadas

Aplicar reglas. Kaspersky Endpoint Security administra el inicio de las aplicaciones en función del modo elegido.

Probar reglas. Kaspersky Endpoint Security permitirá que una aplicación se inicie aunque el modo de Control de aplicaciones que esté en vigor requiera bloquearla, y dejará constancia de la ejecución en el informe.

Modo de control de inicio de la aplicación

Puede elegir una de las siguientes opciones:

  • Lista de rechazados. Si se selecciona esta opción, Control de aplicaciones permite que los usuarios inicien cualquier aplicación, excepto las prohibidas por las condiciones de las reglas de bloqueo de Control de aplicaciones.
  • Lista de permitidos. Si se selecciona esta opción, Control de aplicaciones impide que los usuarios inicien las aplicaciones que no cumplen con las condiciones de las reglas de autorización de Control de aplicaciones.

Cuando se selecciona el modo Lista de permitidos, se crean automáticamente dos reglas de Control de aplicaciones:

  • Golden Image.
  • Actualizadores de confianza.

No puede modificar la configuración ni eliminar las reglas creadas automáticamente. Puede activar o desactivar estas reglas.

Controlar carga de los módulos DLL

Si se selecciona, Kaspersky Endpoint Security controla la carga de módulos de DLL cuando los usuarios intentan iniciar aplicaciones. La información sobre el módulo de DLL y la aplicación que cargó dicho módulo se registra en el informe.

Si planea activar el control sobre los controladores y módulos DLL que se carguen, asegúrese de que, en la configuración Control de aplicaciones, esté activada la regla Golden Image predeterminada u otra regla que contenga la categoría KL "Certificados de confianza" y garantice que los controladores y módulos DLL de confianza se carguen antes de que se inicie Kaspersky Endpoint Security. Activar la supervisión de la carga de los módulos DLL y los controladores cuando la regla Golden Image esté desactivada puede causar inestabilidad en el sistema operativo.

Kaspersky Endpoint Security solamente supervisa los controladores y módulos DLL que se carguen desde el momento en que se selecciona la casilla de verificación. Después de seleccionar la casilla de verificación, se recomienda reiniciar el equipo para asegurarse de que la aplicación supervise todos los módulos y controladores DLL, incluidos los cargados antes de que se inicie Kaspersky Endpoint Security.

Plantillas de mensajes sobre el bloque de aplicaciones

Mensaje sobre el bloqueo. Plantilla del mensaje que aparece si se activa una regla de Control de aplicaciones que impide el inicio de una aplicación.

Mensaje para el administrador. Plantilla del mensaje que un usuario puede enviar al administrador de la red de área local corporativa si el usuario cree que la aplicación se ha bloqueado por error. Después de que el usuario solicite acceso, Kaspersky Endpoint Security envía un evento a Kaspersky Security Center: Mensaje al administrador por bloqueo del inicio de la aplicación. La descripción del evento contiene un mensaje para el administrador con variables sustituidas. Puede ver estos eventos en la consola de Kaspersky Security Center usando la selección de eventos predefinida Solicitudes de usuarios. Si su organización no tiene implementado Kaspersky Security Center o no hay conexión con el Servidor de administración, la aplicación enviará un mensaje al administrador a la dirección de correo electrónico especificada.

Vea también: Administración de la aplicación con la interfaz local

Limitaciones de funcionalidad de Control de aplicaciones

Activación y desactivación de Control de aplicaciones

Administrar reglas de Control de aplicaciones

Probar reglas de Control de aplicaciones

Seleccionar el modo de Control de aplicaciones

Reglas para crear máscaras de nombre para archivos o carpetas

Edición de plantillas de mensajes de Control de aplicaciones

Inicio de página