Control de aplicaciones

El componente Control de aplicaciones se utiliza para gestionar la ejecución de aplicaciones en los equipos de los usuarios. Permite, con ello, implementar una directiva de seguridad corporativa que regule el uso de aplicaciones. Gracias a las restricciones de acceso, el componente también ayuda a reducir el riesgo de que los equipos se infecten.

Los pasos para configurar Control de aplicaciones son los siguientes:

  1. Creación de categorías de aplicaciones.

    El administrador crea categorías con las aplicaciones que desea controlar. Las categorías de aplicaciones impactan en todos los equipos de una red corporativa, independientemente del grupo de administración al que pertenecen. Las categorías se crean sobre la base de distintos criterios: categoría KL (por ejemplo, Navegadores), hash del archivo, proveedor de la aplicación y otros.

  2. Creación de reglas de Control de aplicaciones.

    El administrador crea reglas de Control de aplicaciones dentro de la directiva asignada a un grupo de administración. Las reglas contienen las distintas categorías de aplicaciones y el estado de ejecución (inicio permitido o bloqueado) asignado a las aplicaciones de esas categorías.

  3. Selección del modo de Control de aplicaciones.

    El administrador decide el modo para trabajar con aplicaciones que no están contempladas en ninguna de las reglas (lista de autorización y de bloqueo).

Cuando un usuario intenta ejecutar una aplicación prohibida, Kaspersky Endpoint Security se lo impide y le muestra una notificación (vea la imagen de más abajo).

Existe un modo de prueba, diseñado para verificar la configuración de Control de aplicaciones. Cuando se utiliza este modo, Kaspersky Endpoint Security hace lo siguiente:

Modos de funcionamiento de Control de aplicaciones

El componente Control de aplicaciones funciona en dos modos:

El Control de aplicaciones se puede configurar para funcionar en estos modos, tanto a través de la interfaz local de Kaspersky Endpoint Security como por medio de Kaspersky Security Center.

Sin embargo, Kaspersky Security Center ofrece herramientas que no están disponibles en la interfaz local de Kaspersky Endpoint Security, como las herramientas necesarias para las siguientes tareas:

Por este motivo se recomienda utilizar Kaspersky Security Center para configurar el funcionamiento del componente Control de aplicaciones.

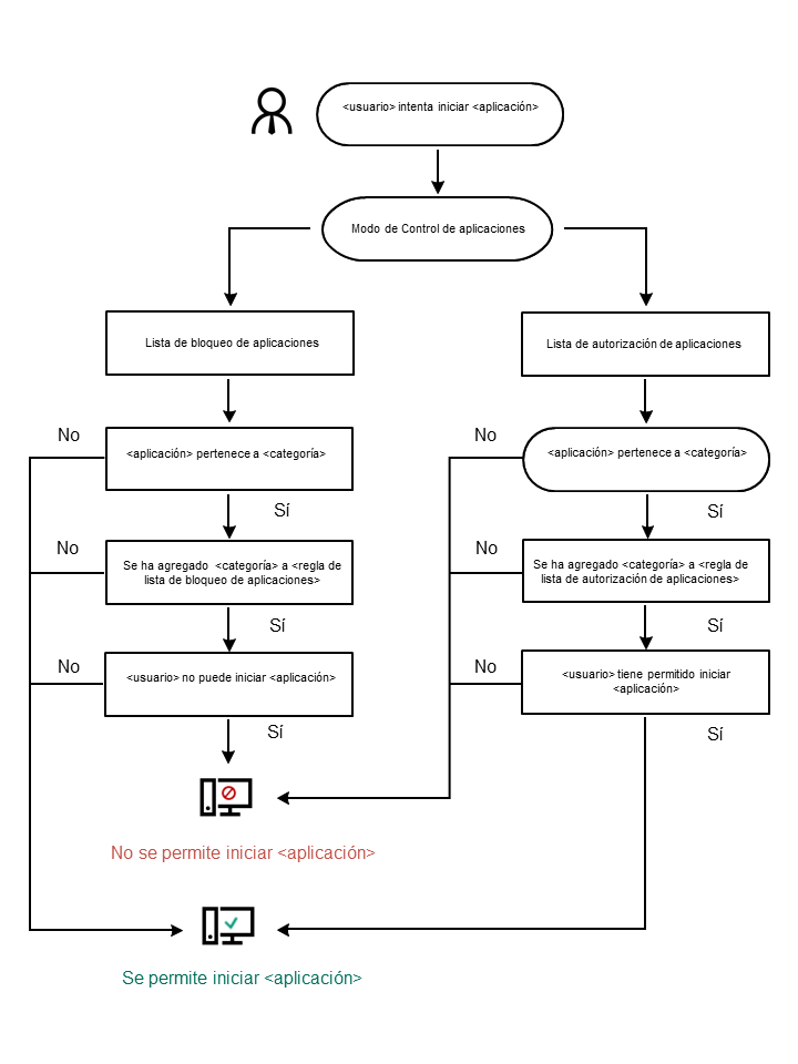
Algoritmo de funcionamiento de Control de aplicaciones

Kaspersky Endpoint Security utiliza un algoritmo para decidir si una aplicación podrá iniciarse (vea la siguiente imagen).

Algoritmo de funcionamiento de Control de aplicaciones

En esta sección

Limitaciones de la funcionalidad del Control de aplicaciones

Recepción de información sobre las aplicaciones que se instalan en equipos de usuarios

Habilitación y deshabilitación del Control de aplicaciones

Selección del modo de Control de aplicaciones

Administración de las reglas de Control de aplicaciones

Prueba de las reglas de Control de aplicaciones

Monitor de actividades de aplicaciones

Reglas para crear máscaras de nombres para archivos o carpetas

Edición de las plantillas de mensajes de Control de aplicaciones

Prácticas recomendadas para implementar una lista de aplicaciones permitidas

Inicio de página