Application Control administreazăă pornirea aplicațiilor pe computerele utilizatorilor. Acest lucru vă permite să implementați o politică de securitate corporativă atunci când utilizați aplicații. Application Control reduce, de asemenea, riscul de infectare a computerului prin restricționarea accesului la aplicații.
Configurarea componentei Application Control constă în următorii pași:
Administratorul creează categorii de aplicații pe care administratorul dorește să le administreze. Categoriile de aplicații sunt destinate tuturor computerelor din rețeaua corporativă, indiferent de grupurile de administrare. Pentru a crea o categorie, puteți utiliza următoarele criterii: Categoria KL (de exemplu, Browsere), cod hash fișier, vânzător aplicații și alte criterii.
Administratorul creează reguli pentru componenta Application Control în politica pentru grupul de administrare. Regula include categoriile de aplicații și starea de pornire a aplicațiilor din aceste categorii: blocate sau permise. Administratorul poate crea mai multe reguli. O aplicație poate îndeplini criteriile mai multor reguli. Prioritatea pentru o regulă de blocare este mai mare decât prioritatea pentru o regulă de permitere. Kaspersky Endpoint Security verifică dacă o aplicație corespunde unei reguli de fiecare dată când este pornită. Kaspersky Endpoint Security compară secvențial aplicația cu toate regulile Application Control.
Administratorul alege modul de lucru cu aplicațiile care nu sunt incluse în niciuna dintre reguli (lista de aplicații respinse sau lista permise).
Când un utilizator încearcă să pornească o aplicație interzisă, Kaspersky Endpoint Security va bloca pornirea aplicației și va afișa o notificare (consultați figura de mai jos).
Este oferit un mod de testare pentru a verifica configurația componentei Application Control. În acest mod, Kaspersky Endpoint Security face următoarele:

Notificarea Application Control
Modurile de funcționare pentru componenta Application Control
Componenta Application Control funcționează în două moduri:
Acest mod al componentei Application Control este activat în mod implicit.
Dacă regulile de permitere Application Control sunt complet configurate, componenta blochează pornirea tuturor aplicațiilor noi care nu au fost verificate de administratorul rețelei LAN, permițând însă funcționarea sistemului de operare și a aplicațiilor de încredere pe care utilizatorii se bazează în activitatea lor.
Puteți citi recomandările privind configurarea regulilor Application Control în modul listei permise.
Componenta Application Control poate fi configurată să funcționeze în aceste moduri atât folosind interfața locală Kaspersky Endpoint Security, cât și folosind Kaspersky Security Center.
Cu toate acestea, Kaspersky Security Center oferă instrumente care nu sunt disponibile în interfața locală Kaspersky Endpoint Security, cum ar fi instrumentele care sunt necesare pentru următoarele activități:
Regulile Application Control create în Consola de administrare Kaspersky Security Center se bazează pe categorii tale particularizate de aplicații și nu pe condițiile de includere și de excludere, ca în cazul interfeței locale Kaspersky Endpoint Security.
De aceea se recomandă utilizarea Kaspersky Security Center pentru a configura funcționarea componentei Application Control.
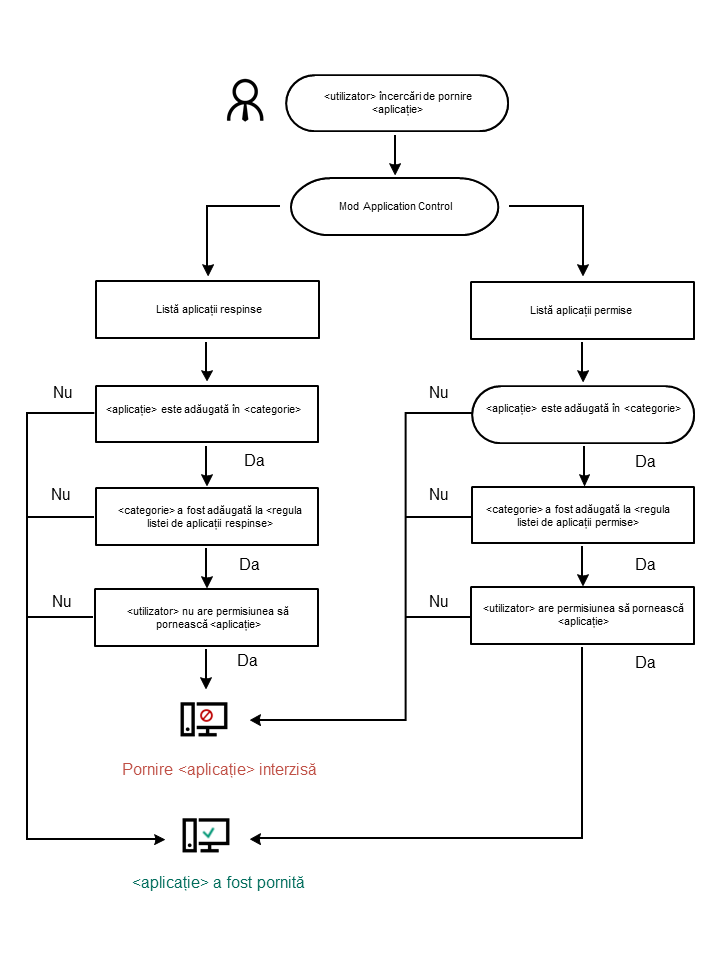
Algoritmul de funcționare al componentei Application Control
Kaspersky Endpoint Security folosește un algoritm pentru a lua o decizie cu privire la pornirea unei aplicații (consultați figura de mai jos).

Algoritmul de funcționare al componentei Application Control
Setările componentei Application Control
Parametru |
Descriere |
|---|---|
Acțiune la pornirea aplicațiilor blocate de reguli |
Aplica reguli. Kaspersky Endpoint Security gestionează pornirea aplicațiilor în funcție de modul selectat. Testează regulile. Kaspersky Endpoint Security permite pornirea aplicației care este blocată în modul curent pentru Application Control, dar înregistrează informațiile despre pornirea sa în raport. |
Modul Control la pornirea aplicației |
Poți alege una dintre următoarele opțiuni:
Când este selectat modul Listă permise, sunt create automat două reguli Application Control:
Nu poți edita setările și nu poți șterge aceste reguli create automat. Poți să activezi sau să dezactivezi aceste reguli. |
Monitorizează încărcarea modulelor DLL |
Dacă această casetă de selectare este bifată, Kaspersky Endpoint Security controlează încărcarea modulelor DLL atunci când utilizatorii încearcă să pornească aplicații. Informațiile despre modulul DLL și aplicația care a încărcat acest modul DLL sunt înregistrate în raport. Atunci când activați controlul asupra încărcării modulelor și driverelor DLL, asigurați-vă că în setările componentei Application Control este activată una dintre următoarele reguli: regula implicită Imagine de aur sau o altă regulă care conține categoria KL „Imagine de aur\Certificate de încredere” și care se asigură că modulele și driverele DLL de încredere sunt încărcate înainte de pornirea Kaspersky Endpoint Security. Activarea controlului încărcării modulelor și driverelor DLL când regula Imagine de aur este dezactivată poate duce la instabilitatea sistemului de operare. Kaspersky Endpoint Security monitorizează numai modulele și driverele DLL care au fost încărcate după bifarea casetei de selectare. După bifarea casetei de selectare, este recomandat să reporniți computerul pentru a vă asigura că aplicația monitorizează toate modulele și driverele DLL, inclusiv cele încărcate înainte de pornirea Kaspersky Endpoint Security. |
Utilizează o verificare strictă a semnăturii digitale |
Poți selecta un certificat drept condiție de declanșare pentru o regulă Application Control. Dacă această casetă de selectare este bifată, Kaspersky Endpoint Security aplică reguli aplicațiilor semnate cu certificate numai din depozitul de certificate de sistem de încredere. Aplicațiile semnate cu un astfel de certificat sunt, de asemenea, considerate de încredere de către componentele de protecție, de exemplu, activitatea Scanare malware. Cu toate acestea, dacă specifici un certificat dintr-un alt depozit într-o regulă Application Control, Kaspersky Endpoint Security nu aplică o astfel de regulă. Dacă această casetă de selectare este debifată, Kaspersky Endpoint Security aplică reguli aplicațiilor semnate printr-un certificat din Depozitul Windows de certificate rădăcină de încredere. Astfel de aplicații nu fac parte din zona de încredere. Componentele de protecție monitorizează activitatea unor astfel de aplicații. |
Șabloanele mesajelor despre blocarea aplicației |
Mesaj despre blocare. Șablonul mesajului care se afișează atunci când este declanșată o regulă Application Control care blochează pornirea unei aplicații. Mesaj către administrator. Șablon al mesajului pe care un utilizator îl poate trimite administratorului rețelei LAN corporative dacă utilizatorul consideră că o aplicație a fost blocată din greșeală. După ce utilizatorul solicită accesul, Kaspersky Endpoint Security trimite un eveniment către Kaspersky Security Center: Mesaj către administrator privind blocarea pornirii aplicației. Descrierea evenimentului conține un mesaj către administrator cu variabile înlocuite. Puteți vizualiza aceste evenimente în consola Kaspersky Security Center, utilizând selecția de evenimente predefinită User requests. Dacă organizația dvs. nu are instalat Kaspersky Security Center sau nu există nicio conexiune la serverul de administrare, aplicația va trimite un mesaj administratorului la adresa de e-mail specificată. |