Programmacontrole beheert het opstarten van applicaties op de computers van gebruikers. Hiermee kunt u een bedrijfsbeveiligingsbeleid implementeren bij het gebruik van programma's. Programmacontrole vermindert ook het risico op computerinfectie door de toegang tot programma's te beperken.
De configuratie van programmacontrole bestaat uit de volgende stappen:
De beheerder maakt categorieën applicaties die de beheerder wil beheren. Programmacategorieën zijn bedoeld voor alle computers in het bedrijfsnetwerk, ongeacht de beheergroepen. Om eencategorie aan te maken, kunt u de volgende criteria gebruiken: KL-categorie (bijvoorbeeld, Browsers), bestandshash, programmaverkoper en andere criteria.
De beheerder maakt regels van programmacontrole in het beleid voor de beheergroep. De regel omvat de categorieën van programma's en de opstartstatus van programma's uit deze categorieën: geblokkeerd of toegestaan.
De beheerder kiest de modus voor het werken met programma's die niet zijn opgenomen in een van de regels (programma denylist en allowlist).
Wanneer een gebruiker probeert een verboden programma te starten, blokkeert Kaspersky Endpoint Security het starten van het programma en wordt er een melding weergegeven (zie de onderstaande afbeelding).
Er is een testmodus beschikbaar om de configuratie van programmacontrole te controleren. In deze modus doet Kaspersky Endpoint Security het volgende:

Melding van programmacontrole
Over de uitvoermodi van programmacontrole
Het onderdeel Programmacontrole werkt in twee modi:
Deze modus van Programmacontrole is standaard ingeschakeld.
Als de Toestaan-regels van Programmacontrole volledig zijn geconfigureerd, staat het onderdeel niet toe dat nieuwe programma's die niet zijn gecontroleerd door de netwerkbeheerder worden gestart. Het staat wel toe dat het besturingssysteem en vertrouwde programma's die gebruikers voor hun werk gebruiken worden uitgevoerd.
U kunt de aanbevelingen voor de configuratie van regels voor programmacontrole in de modus allowlist lezen.
De werking van Programmacontrole in deze modi kan zowel in de lokale interface van Kaspersky Endpoint Security als in Kaspersky Security Center worden geconfigureerd.
Kaspersky Security Center beschikt wel over tools die niet beschikbaar zijn in de lokale interface van Kaspersky Endpoint Security, zoals de noodzakelijke tools voor de volgende taken:
De regels van Programmacontrole die worden aangemaakt in de Beheerconsole van Kaspersky Security Center zijn gebaseerd op aangepaste categorieën van programma's en niet op uitvoerings- of uitzonderingsvoorwaarden zoals in de lokale interface van Kaspersky Endpoint Security.
Dit is de reden waarom u wordt aanbevolen om Kaspersky Security Center te gebruiken voor de configuratie van de werking van het onderdeel Programmacontrole.
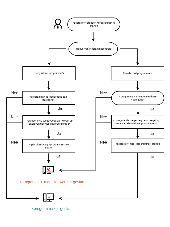
Algoritme voor werking van programmacontrole
Kaspersky Endpoint Security gebruikt een algoritme om een beslissing te nemen over het starten van een programma (zie onderstaande afbeelding).

Algoritme voor werking van programmacontrole
Instellingen van het onderdeel Programmacontrole
Parameter |
Beschrijving |
|---|---|
Actie op startende aanvragen geblokkeerd door regels |
Regels toepassen. Kaspersky Endpoint Security beheert het opstarten van programma's volgens de geselecteerde modus. Regels testen. Kaspersky Endpoint Security staat toe dat een programma dat wordt geblokkeerd in de huidige modus van Programmacontrole wordt gestart, maar registreert het informatie over de opstart van dat programma in het rapport. |
Modus van Controle van programma-opstart |
U kunt één van de volgende opties kiezen:
Wanneer de modus Allowlist is geselecteerd, worden twee regels van Programmacontrole automatisch aangemaakt:
U kunt de instellingen van automatisch aangemaakte regels niet bewerken, noch kunt u die regels verwijderen. U kunt deze regels inschakelen of uitschakelen. |
Controleer het laden van DLL-modules |
Als het selectievakje is ingeschakeld, wordt het laden van DLL-modules wanneer gebruikers programma's proberen te starten gecontroleerd door Kaspersky Endpoint Security. Informatie over de DLL-module en het programma dat deze DLL-module heeft geladen, wordt in het rapport geregistreerd. Wanneer u de controle over het laden van DLL-modules en stuurprogramma's inschakelt, moet u in de instellingen van programmacontrole controleren of een van de volgende regels is ingeschakeld: de standaard Golden Image-regel of een andere regel die de Kl-categorie "Vertrouwde certificaten" bevat en ervoor zorgt dat vertrouwde DLL-modules en stuurprogramma's worden geladen voordat Kaspersky Endpoint Security wordt gestart. Als u de controle van het laden van DLL-modules en stuurprogramma's inschakelt wanneer de regel Golden Image is uitgeschakeld, kan het besturingssysteem instabiel worden. Kaspersky Endpoint Security bewaakt alleen DLL-modules en stuurprogramma's die zijn geladen nadat het selectievakje werd ingeschakeld. Nadat u het selectievakje hebt geselecteerd, wordt aanbevolen om de computer opnieuw op te starten om ervoor te zorgen dat het programma alle DLL-modules en stuurprogramma's controleert, inclusief degene die zijn geladen voordat Kaspersky Endpoint Security opstart. |
Sjablonen van berichten over programmablokkering |
Bericht over blokkering. Sjabloon van het bericht dat wordt weergegeven bij de activering van een regel van Programmacontrole die de start van een programma blokkeert. Bericht aan beheerder. Sjabloon van het bericht dat een gebruiker naar de LAN-beheerder van het bedrijf kan sturen als de gebruiker denkt dat een programma per ongeluk is geblokkeerd. Nadat de gebruiker toegang heeft gevraagd, stuurt Kaspersky Endpoint Security een gebeurtenis naar Kaspersky Security Center: Bericht over blokkering van programmastart aan beheerder. De beschrijving van de gebeurtenis bevat een bericht aan de beheerder met vervangende variabelen. U kunt deze gebeurtenissen in de Kaspersky Security Center-console bekijken met de voorgedefinieerde gebeurtenisselectie User requests. Als uw organisatie Kaspersky Security Center niet heeft geïmplementeerd of als er geen verbinding is met de beheerserver, stuurt het programma een bericht aan de beheerder naar het opgegeven e-mailadres. |