Programmacontrole beheert het opstarten van applicaties op de computers van gebruikers. Hiermee kunt u een bedrijfsbeveiligingsbeleid implementeren bij het gebruik van programma's. Programmacontrole vermindert ook het risico op computerinfectie door de toegang tot programma's te beperken.
De configuratie van programmacontrole bestaat uit de volgende stappen:
De beheerder maakt categorieën applicaties die de beheerder wil beheren. Programmacategorieën zijn bedoeld voor alle computers in het bedrijfsnetwerk, ongeacht de beheergroepen. Om eencategorie aan te maken, kunt u de volgende criteria gebruiken: KL-categorie (bijvoorbeeld, Browsers), bestandshash, programmaverkoper en andere criteria.
De beheerder maakt regels van programmacontrole in het beleid voor de beheergroep. De regel omvat de categorieën van programma's en de opstartstatus van programma's uit deze categorieën: geblokkeerd of toegestaan. De beheerder kan veel regels maken. Eén programma kan voldoen aan de criteria van meerdere regels. De prioriteit van een Blokkeren-regel is hoger dan die van een Toestaan-regel. Telkens wanneer het programma wordt gestart, controleert Kaspersky Endpoint Security of een programma overeenkomt met een regel. Kaspersky Endpoint Security vergelijkt het programma achtereenvolgens met alle regels van Programmacontrole.
De beheerder kiest de modus voor het werken met programma's die niet zijn opgenomen in een van de regels (programma denylist en allowlist).
Wanneer een gebruiker probeert een verboden programma te starten, blokkeert Kaspersky Endpoint Security het starten van het programma en wordt er een melding weergegeven (zie de onderstaande afbeelding).
Er is een testmodus beschikbaar om de configuratie van programmacontrole te controleren. In deze modus doet Kaspersky Endpoint Security het volgende:

Melding van programmacontrole
Over de uitvoermodi van programmacontrole
Het onderdeel Programmacontrole werkt in twee modi:
Deze modus van Programmacontrole is standaard ingeschakeld.
Als de Toestaan-regels van Programmacontrole volledig zijn geconfigureerd, staat het onderdeel niet toe dat nieuwe programma's die niet zijn gecontroleerd door de netwerkbeheerder worden gestart. Het staat wel toe dat het besturingssysteem en vertrouwde programma's die gebruikers voor hun werk gebruiken worden uitgevoerd.
U kunt de aanbevelingen voor de configuratie van regels voor programmacontrole in de modus allowlist lezen.
De werking van Programmacontrole in deze modi kan zowel in de lokale interface van Kaspersky Endpoint Security als in Kaspersky Security Center worden geconfigureerd.
Kaspersky Security Center beschikt wel over tools die niet beschikbaar zijn in de lokale interface van Kaspersky Endpoint Security, zoals de noodzakelijke tools voor de volgende taken:
De regels van Programmacontrole die worden aangemaakt in de Beheerconsole van Kaspersky Security Center zijn gebaseerd op aangepaste categorieën van programma's en niet op uitvoerings- of uitzonderingsvoorwaarden zoals in de lokale interface van Kaspersky Endpoint Security.
Dit is de reden waarom u wordt aanbevolen om Kaspersky Security Center te gebruiken voor de configuratie van de werking van het onderdeel Programmacontrole.
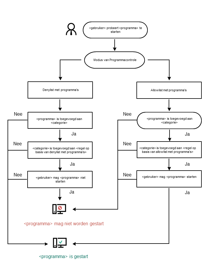
Algoritme voor werking van programmacontrole
Kaspersky Endpoint Security gebruikt een algoritme om een beslissing te nemen over het starten van een programma (zie onderstaande afbeelding).

Algoritme voor werking van programmacontrole