El Control de aplicaciones gestiona el inicio de aplicaciones en los equipos de los usuarios. Esto le permite implementar una directiva corporativa de seguridad al usar aplicaciones. El Control de aplicaciones también reduce el riesgo de infección del equipo al restringir el acceso a las aplicaciones.
La configuración del Control de aplicaciones consta de los siguientes pasos:
El administrador crea categorías de aplicaciones que el administrador quiere gestionar. Las categorías de aplicaciones están destinadas a todos los equipos de la red corporativa, independientemente de los grupos de administración. Para crear una categoría, puede usar los siguientes criterios: categoría KL (por ejemplo, Navegadores), hash de archivo, proveedor de aplicaciones y otros criterios.
El administrador crea reglas de Control de aplicaciones en la directiva para el grupo de administración. La regla incluye las categorías de aplicaciones y el estado de inicio de las aplicaciones de estas categorías: bloqueadas o permitidas. El administrador puede crear muchas reglas. Una aplicación puede coincidir con los criterios de varias reglas. La prioridad de una regla de bloqueo es superior a la prioridad de una regla de permiso. Kaspersky Endpoint Security comprueba si una aplicación coincide con una regla cada vez que se inicia. Kaspersky Endpoint Security compara secuencialmente la aplicación con todas las reglas de Control de aplicaciones.
El administrador elige el modo para trabajar con las aplicaciones que no estén incluidas en ninguna de las reglas (listas de aplicaciones admitidas y rechazadas).
Cuando un usuario intenta iniciar una aplicación prohibida, Kaspersky Endpoint Security bloqueará el inicio de dicha aplicación y mostrará una notificación (vea la figura a continuación).
Se proporciona un modo de prueba para comprobar la configuración de Control de aplicaciones. En este modo, Kaspersky Endpoint Security hace lo siguiente:

Notificación de Control de aplicaciones
Modos de funcionamiento de Control de aplicaciones
El componente Control de aplicaciones funciona en dos modos:
Este modo de Control de aplicaciones está activado de forma predeterminada.
Si las reglas de autorización de Control de aplicaciones están totalmente configuradas, el componente bloquea el inicio de todas las aplicaciones nuevas que no haya verificado el administrador de la red de área local, mientras que autoriza el funcionamiento del sistema operativo y de las aplicaciones de confianza en las que los usuarios confían en su trabajo.
Puede leer las recomendaciones sobre la configuración de reglas de Control de aplicaciones en el modo de lista de admitidos.
El Control de aplicaciones puede configurarse para que funcione en estos modos tanto mediante la interfaz local de Kaspersky Endpoint Security como mediante Kaspersky Security Center.
Sin embargo, Kaspersky Security Center ofrece herramientas que no están disponibles en la interfaz local de Kaspersky Endpoint Security, como las herramientas que son necesarias para las siguientes tareas:
Las reglas del componente Control de aplicaciones de la consola de administración de Kaspersky Security Center se basan en categorías de aplicaciones predeterminadas, y no en reglas de inclusión y exclusión, como sucede en la interfaz local de Kaspersky Endpoint Security.
Por eso, se recomienda usar Kaspersky Security Center para configurar el funcionamiento del componente Control de aplicaciones.
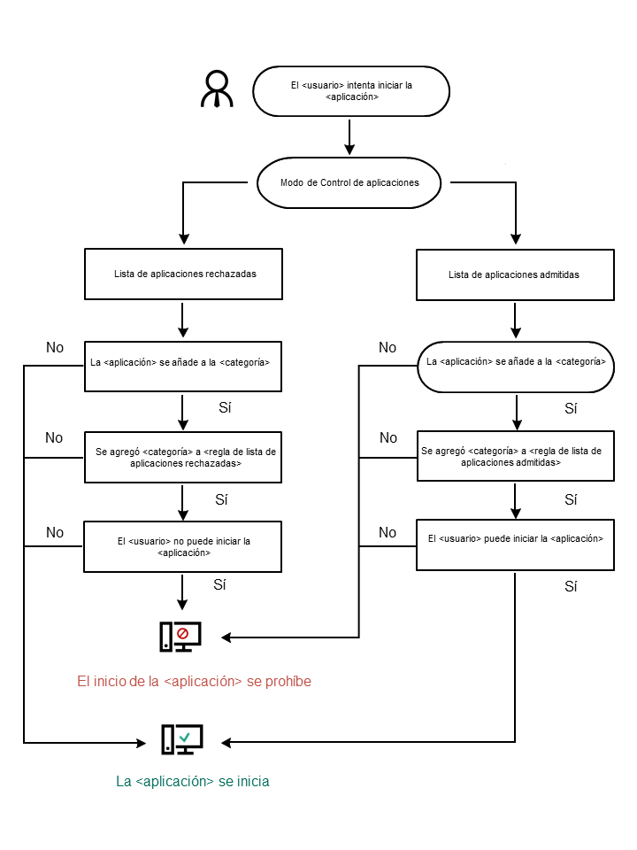
Algoritmo de funcionamiento de Control de aplicaciones
Kaspersky Endpoint Security utiliza un algoritmo para tomar una decisión sobre el inicio de una aplicación (vea la figura a continuación).

Algoritmo de funcionamiento de Control de aplicaciones