Kontrola aplikacji zarządza uruchamianiem aplikacji na komputerach użytkowników. Pozwala to na wdrożenie polityki bezpieczeństwa firmy podczas korzystania z aplikacji. Kontrola aplikacji zmniejsza także ryzyko infekcji komputera poprzez ograniczenie dostępu do aplikacji.
Konfiguracja Kontroli aplikacji obejmuje następujące kroki:
Administrator tworzy kategorie aplikacji, którymi chce zarządzać. Kategorie aplikacji są przeznaczone dla wszystkich komputerów w sieci firmowej, niezależnie od grup administracyjnych. Aby utworzyć kategorię, możesz użyć następujących kryteriów: kategoria KL (na przykład: Przeglądarki ), suma kontrolna pliku, dostawca aplikacji i inne kryteria.
Administrator tworzy reguły Kontroli aplikacji w zasadzie dla grupy administracyjnej. Reguła obejmuje kategorie aplikacji i stan uruchamiania aplikacji z tych kategorii: zablokowane lub dozwolone. Administrator może utworzyć wiele reguł. Jeden wniosek może spełniać kryteria wielu zasad. Priorytet reguły blokującej jest wyższy niż priorytet reguły zezwalającej. Kaspersky Endpoint Security sprawdza, czy aplikacja pasuje do reguły przy każdym uruchomieniu. Kaspersky Endpoint Security sekwencyjnie porównuje aplikację ze wszystkimi regułami Kontroli aplikacji.
Administrator wybiera tryb pracy z aplikacjami, które nie są uwzględnione w żadnej z reguł (lista zablokowanych i lista zezwolonych).
Jeśli użytkownik spróbuje uruchomić niedozwoloną aplikację, Kaspersky Endpoint Security zablokuje uruchomienie aplikacji i wyświetli powiadomienie (patrz rysunek poniżej).
Tryb testowy służy do sprawdzania konfiguracji Kontroli aplikacji. W tym trybie Kaspersky Endpoint Security wykonuje następujące czynności:

Powiadomienie Kontroli aplikacji
Tryby działania Kontroli aplikacji
Komponent Kontrola aplikacji działa w dwóch trybach:
Ten tryb jest włączony domyślnie.
Jeżeli reguły zezwalające Kontroli aplikacji zostaną w pełni skonfigurowane, moduł zablokuje uruchamianie wszystkich nowych aplikacji, które nie zostały zweryfikowane przez administratora sieci LAN, natomiast zezwoli na działanie systemu operacyjnego i zaufanych aplikacji potrzebnych użytkownikom w ich pracy.
Możesz przeczytać zalecenia odnośnie konfiguracji reguł Kontroli aplikacji w trybie listy zezwolonych.
Moduł Kontrola aplikacji można skonfigurować do pracy w tych trybach, korzystając z lokalnego interfejsu Kaspersky Endpoint Security oraz programu Kaspersky Security Center.
Jednakże Kaspersky Security Center oferuje narzędzia, które nie są dostępne w lokalnym interfejsie Kaspersky Endpoint Security, a które są potrzebne do:
Reguły Kontroli aplikacji utworzone w Konsoli administracyjnej Kaspersky Security Center są oparte o niestandardowe kategorie aplikacji, a nie o warunki włączenia i wykluczenia, jak ma to miejsce w przypadku lokalnego interfejsu Kaspersky Endpoint Security.
Dlatego zalecane jest korzystanie z Kaspersky Security Center podczas konfigurowania działania modułu Kontrola aplikacji.
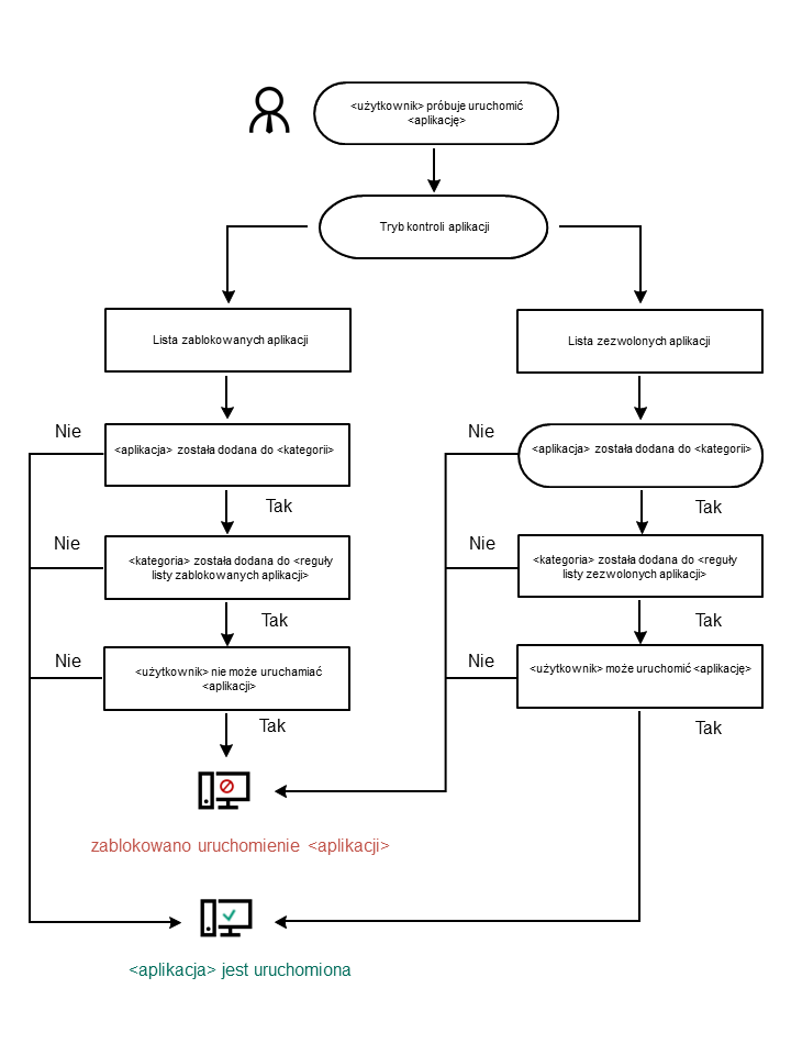
Algorytm działania Kontroli aplikacji
Kaspersky Endpoint Security wykorzystuje algorytm do podjęcia decyzji o uruchomieniu aplikacji (patrz rysunek poniżej).

Algorytm działania Kontroli aplikacji