El Control de aplicaciones gestiona el inicio de aplicaciones en los equipos de los usuarios. Esto le permite implementar una directiva corporativa de seguridad al usar aplicaciones. El Control de aplicaciones también reduce el riesgo de infección del equipo al restringir el acceso a las aplicaciones.
La configuración del Control de aplicaciones consta de los siguientes pasos:
El administrador crea categorías de aplicaciones que el administrador quiere gestionar. Las categorías de aplicaciones están destinadas a todos los equipos de la red corporativa, independientemente de los grupos de administración. Para crear una categoría, puede usar los siguientes criterios: categoría KL (por ejemplo, Navegadores), hash de archivo, proveedor de aplicaciones y otros criterios.
El administrador crea reglas de Control de aplicaciones en la directiva para el grupo de administración. La regla incluye las categorías de aplicaciones y el estado de inicio de las aplicaciones de estas categorías: bloqueadas o permitidas.
El administrador elige el modo para trabajar con las aplicaciones que no estén incluidas en ninguna de las reglas (listas de aplicaciones admitidas y rechazadas).
Cuando un usuario intenta iniciar una aplicación prohibida, Kaspersky Endpoint Security bloqueará el inicio de dicha aplicación y mostrará una notificación (vea la figura a continuación).
Se proporciona un modo de prueba para comprobar la configuración de Control de aplicaciones. En este modo, Kaspersky Endpoint Security hace lo siguiente:

Notificación de Control de aplicaciones
Modos de funcionamiento de Control de aplicaciones
El componente Control de aplicaciones funciona en dos modos:
Este modo de Control de aplicaciones está activado de forma predeterminada.
Si las reglas de autorización de Control de aplicaciones están totalmente configuradas, el componente bloquea el inicio de todas las aplicaciones nuevas que no haya verificado el administrador de la red de área local, mientras que autoriza el funcionamiento del sistema operativo y de las aplicaciones de confianza en las que los usuarios confían en su trabajo.
Puede leer las recomendaciones sobre la configuración de reglas de Control de aplicaciones en el modo de lista de admitidos.
El Control de aplicaciones puede configurarse para que funcione en estos modos tanto mediante la interfaz local de Kaspersky Endpoint Security como mediante Kaspersky Security Center.
Sin embargo, Kaspersky Security Center ofrece herramientas que no están disponibles en la interfaz local de Kaspersky Endpoint Security, como las herramientas que son necesarias para las siguientes tareas:
Las reglas del componente Control de aplicaciones de la consola de administración de Kaspersky Security Center se basan en categorías de aplicaciones predeterminadas, y no en reglas de inclusión y exclusión, como sucede en la interfaz local de Kaspersky Endpoint Security.
Por eso, se recomienda usar Kaspersky Security Center para configurar el funcionamiento del componente Control de aplicaciones.
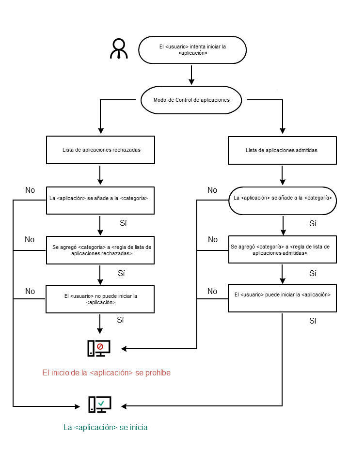
Algoritmo de funcionamiento de Control de aplicaciones
Kaspersky Endpoint Security utiliza un algoritmo para tomar una decisión sobre el inicio de una aplicación (vea la figura a continuación).

Algoritmo de funcionamiento de Control de aplicaciones
Parámetros del componente Control de aplicaciones
Parámetro |
Descripción |
|---|---|
Modo de prueba |
Si se activa este interruptor, Kaspersky Endpoint Security permitirá que una aplicación se inicie aunque el modo de Control de aplicaciones que esté en vigor requiera bloquearla, y dejará constancia de la ejecución en el informe. |
Modo de Control de aplicaciones |
Puede elegir una de las siguientes opciones:
Cuando se selecciona el modo Lista de permitidos, se crean automáticamente dos reglas de Control de aplicaciones:
No puede modificar la configuración ni eliminar las reglas creadas automáticamente. Puede activar o desactivar estas reglas. |
Controlar la carga de los módulos DLL (incrementa significativamente la carga del sistema) |
Si se selecciona, Kaspersky Endpoint Security controla la carga de módulos de DLL cuando los usuarios intentan iniciar aplicaciones. La información sobre el módulo de DLL y la aplicación que cargó dicho módulo se registra en el informe. Si planea activar el control sobre los controladores y módulos DLL que se carguen, asegúrese de que, en la configuración Control de aplicaciones, esté activada la regla Golden Image predeterminada u otra regla que contenga la categoría KL "Certificados de confianza" y garantice que los controladores y módulos DLL de confianza se carguen antes de que se inicie Kaspersky Endpoint Security. Activar la supervisión de la carga de los módulos DLL y los controladores cuando la regla Golden Image esté desactivada puede causar inestabilidad en el sistema operativo. Kaspersky Endpoint Security solamente supervisa los controladores y módulos DLL que se carguen desde el momento en que se selecciona la casilla de verificación. Después de seleccionar la casilla de verificación, se recomienda reiniciar el equipo para asegurarse de que la aplicación supervise todos los módulos y controladores DLL, incluidos los cargados antes de que se inicie Kaspersky Endpoint Security. |
Plantillas de mensajes |
Mensaje sobre el bloqueo Plantilla del mensaje que aparece si se activa una regla de Control de aplicaciones que impide el inicio de una aplicación. Mensaje al administrador Plantilla del mensaje que un usuario puede enviar al administrador de la red de área local corporativa si el usuario cree que la aplicación se ha bloqueado por error. Después de que el usuario solicite acceso, Kaspersky Endpoint Security envía un evento a Kaspersky Security Center: Mensaje al administrador por bloqueo del inicio de la aplicación. La descripción del evento contiene un mensaje para el administrador con variables sustituidas. Puede ver estos eventos en la consola de Kaspersky Security Center usando la selección de eventos predefinida Solicitudes de usuarios. Si su organización no tiene implementado Kaspersky Security Center o no hay conexión con el Servidor de administración, la aplicación enviará un mensaje al administrador a la dirección de correo electrónico especificada. |