Controlo das Aplicações

O Controlo das Aplicações gere a inicialização de aplicações nos computadores dos utilizadores. Isso permite-lhe implementar uma política de segurança empresarial ao usar aplicações. O Controlo das Aplicações reduz também o risco de infeção do computador, restringindo o acesso às aplicações.

A configuração do Controlo das Aplicações consiste nas seguintes etapas:

  1. Criar categorias de aplicações.

    O administrador cria categorias de aplicações que o administrador deseja gerir. As categorias de aplicações destinam-se a todos os computadores da rede empresarial, independentemente dos grupos de administração. Para criar uma categoria, pode utilizar os seguintes critérios: categoria KL (por exemplo, Browsers ), hash do ficheiro, fornecedor da aplicação e outros critérios.

  2. Criar Regras de Controlo das Aplicações.

    O administrador cria regras do Controlo das aplicações na política para o grupo de administração. A regra inclui as categorias de aplicações e o estado de inicialização das aplicações destas categorias: bloqueados ou permitidos.

  3. Selecionar o modo de Controlo das Aplicações.

    O administrador escolhe o modo para trabalhar com aplicações que não estão incluídas em nenhuma das regras (lista de bloqueio e lista de permissão de aplicações).

Quando um utilizador tenta iniciar uma aplicação proibida, o Kaspersky Endpoint Security impede o início da aplicação e exibe uma notificação (ver a figura abaixo).

Um modo de teste é fornecido para verificar a configuração do Controlo das Aplicações. Neste modo, o Kaspersky Endpoint Security faz o seguinte:

Modos de funcionamento do Controlo das Aplicações

O componente Controlo das Aplicações funciona em dois modos:

O Controlo das Aplicações pode ser configurado para funcionar nestes modos com a interface local do Kaspersky Endpoint Security e utilizando o Kaspersky Security Center.

Contudo, o Kaspersky Security Center fornece ferramentas que não estão disponíveis na interface local do Kaspersky Endpoint Security, como por exemplo, as ferramentas necessárias para as tarefas seguintes:

Por este motivo, recomenda-se a utilização do Kaspersky Security Center para configurar o funcionamento do componente Controlo das Aplicações.

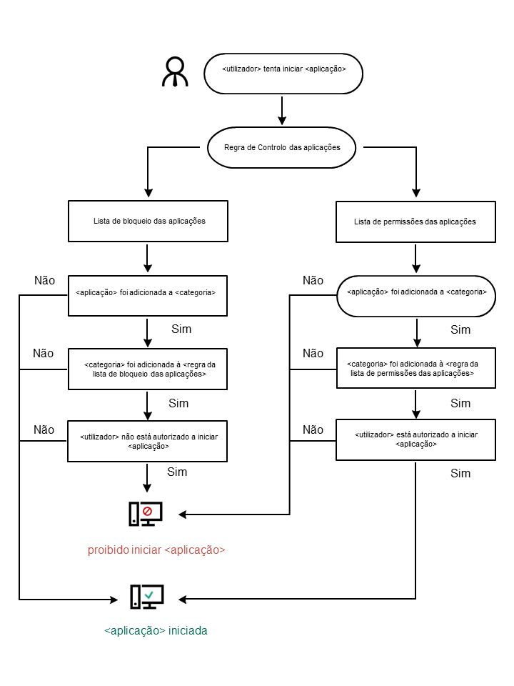
Algoritmo operacional do Controlo das Aplicações

O Kaspersky Endpoint Security usa um algoritmo para tomar uma decisão sobre o início de uma aplicação (ver a figura abaixo).

Algoritmo operacional do Controlo das Aplicações

Definições do componente Controlo das Aplicações

Parâmetro

Descrição

Ação no arranque das aplicações bloqueadas

Aplicar regras. O Kaspersky Endpoint Security gere o arranque das aplicações de acordo com o modo selecionado.

Testar regras. O Kaspersky Endpoint Security permite o arranque da aplicação que está bloqueada no modo atual de Controlo das Aplicações, mas regista informação relativamente ao seu arranque no relatório.

Modo de controlo do arranque da aplicação

Pode selecionar um das itens opções:

  • Lista de bloqueio. Se esta opção estiver selecionada, o Controlo das Aplicações permite que todos os utilizadores iniciem qualquer tipo de aplicação, exceto nos casos em que as aplicações satisfazem as condições das regras de bloqueio do Controlo das Aplicações.
  • Lista de permissão. Se esta opção estiver selecionada, o Controlo das Aplicações bloqueia todos os utilizadores de iniciarem qualquer tipo de aplicação, exceto nos casos em que satisfazem as condições das regras de permissão do Controlo das Aplicações.

Quando o modo Lista de permissão está selecionado, são automaticamente criadas duas regras de Controlo das Aplicações:

  • Golden Image.
  • Atualizadores fiáveis.

Não pode editar as definições nem eliminar as regras automaticamente criadas. Pode ativar ou desativar estas regras.

Controlar a carga dos módulos DLL

Se a caixa de verificação estiver selecionada, o Kaspersky Endpoint Security controla o carregamento dos módulos DLL quando os utilizadores tentam iniciar as aplicações. A informação sobre o módulo DLL e a aplicação que carregou este módulo DLL está registada no relatório.

Ao ativar o controlo sobre o carregamento dos módulos DLL e controladores, certifique-se de que uma das regras seguintes está ativada nas definições de Controlo das Aplicações: a regra predefinida Golden Image ou outra regra que contenha a categoria KL "Certificados fiáveis", e certifique-se de que os módulos DLL e os controladores fiáveis são carregados antes de iniciar o Kaspersky Endpoint Security. Permitir o controlo do carregamento de módulos DLL e controladores quando a regra Golden Image está desativada pode provocar instabilidade no sistema operativo.

O Kaspersky Endpoint Security só monitoriza os módulos DLL e os controladores carregados desde a seleção da caixa de verificação. Depois de selecionar a caixa de verificação, é aconselhável reiniciar o computador para garantir que a aplicação monitoriza todos os módulos DLL e controladores, incluindo os carregados antes de o Kaspersky Endpoint Security iniciar.

Modelos de mensagens sobre bloqueio de aplicações

Mensagem sobre o bloqueio. Modelo da mensagem que é apresentada quando é acionada uma regra de Controlo das Aplicações que bloqueia o início de uma aplicação.

Mensagem para o administrador. Modelo da mensagem que um utilizador pode enviar ao administrador da LAN empresarial se o utilizador acreditar que uma aplicação foi bloqueada por engano. Depois de o utilizador solicitar acesso, o Kaspersky Endpoint Security envia um evento ao Kaspersky Security Center: Mensagem de bloqueio da inicialização da aplicação para o administrador. A descrição do evento contém uma mensagem para o administrador com variáveis substituídas. Pode visualizar estes eventos na consola do Kaspersky Security Center utilizando a seleção de eventos predefinida User requests. Se a sua organização não tiver o Kaspersky Security Center implementado ou não houver uma ligação ao Servidor de Administração, a aplicação irá enviar uma mensagem ao administrador para o endereço de e-mail especificado.

Veja também: Gerir a aplicação através da interface local

Limitações da funcionalidade de Controlo das Aplicações

Ativar e desativar o Controlo das Aplicações

Gerir as regras de Controlo das aplicações

Testar Regras de Controlo das Aplicações

Selecionar o modo de Controlo das Aplicações

Regras para criar máscaras de nome para ficheiros ou pastas

Editar modelos de mensagens do Controlo das Aplicações

Topo da página