Programmacontrole

Programmacontrole beheert het opstarten van applicaties op de computers van gebruikers. Hiermee kunt u een bedrijfsbeveiligingsbeleid implementeren bij het gebruik van programma's. Programmacontrole vermindert ook het risico op computerinfectie door de toegang tot programma's te beperken.

De configuratie van programmacontrole bestaat uit de volgende stappen:

  1. Categorieën van programma's aanmaken.

    De beheerder maakt categorieën applicaties die de beheerder wil beheren. Programmacategorieën zijn bedoeld voor alle computers in het bedrijfsnetwerk, ongeacht de beheergroepen. Om een​categorie aan te maken, kunt u de volgende criteria gebruiken: KL-categorie (bijvoorbeeld, Browsers), bestandshash, programmaverkoper en andere criteria.

  2. Regels van programmacontrole maken.

    De beheerder maakt regels van programmacontrole in het beleid voor de beheergroep. De regel omvat de categorieën van programma's en de opstartstatus van programma's uit deze categorieën: geblokkeerd of toegestaan. De beheerder kan veel regels maken. Eén programma kan voldoen aan de criteria van meerdere regels. De prioriteit van een Blokkeren-regel is hoger dan die van een Toestaan-regel. Telkens wanneer het programma wordt gestart, controleert Kaspersky Endpoint Security of een programma overeenkomt met een regel. Kaspersky Endpoint Security vergelijkt het programma achtereenvolgens met alle regels van Programmacontrole.

  3. De modus van Programmacontrole selecteren.

    De beheerder kiest de modus voor het werken met programma's die niet zijn opgenomen in een van de regels (programma denylist en allowlist).

Wanneer een gebruiker probeert een verboden programma te starten, blokkeert Kaspersky Endpoint Security het starten van het programma en wordt er een melding weergegeven (zie de onderstaande afbeelding).

Er is een testmodus beschikbaar om de configuratie van programmacontrole te controleren. In deze modus doet Kaspersky Endpoint Security het volgende:

Over de uitvoermodi van programmacontrole

Het onderdeel Programmacontrole werkt in twee modi:

De werking van Programmacontrole in deze modi kan zowel in de lokale interface van Kaspersky Endpoint Security als in Kaspersky Security Center worden geconfigureerd.

Kaspersky Security Center beschikt wel over tools die niet beschikbaar zijn in de lokale interface van Kaspersky Endpoint Security, zoals de noodzakelijke tools voor de volgende taken:

Dit is de reden waarom u wordt aanbevolen om Kaspersky Security Center te gebruiken voor de configuratie van de werking van het onderdeel Programmacontrole.

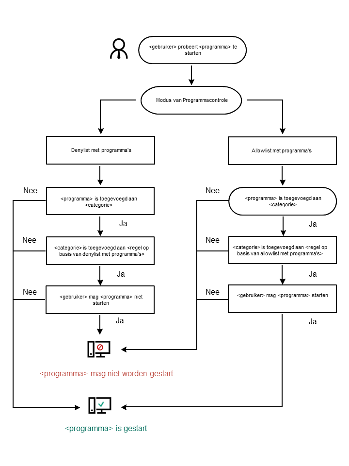
Algoritme voor werking van programmacontrole

Kaspersky Endpoint Security gebruikt een algoritme om een beslissing te nemen over het starten van een programma (zie onderstaande afbeelding).

Algoritme voor werking van programmacontrole

In deze sectie

Beperkingen van de functionaliteit van Programmacontrole

Informatie over geïnstalleerde programma's op computers van gebruikers ontvangen

De modus Geblokkeerde programma's inschakelen

Programmacontrole op basis van een basiscomputer

Regels van programmacontrole beheren

Regels van Programmacontrole testen

Bewaking van programma-activiteit

Regels voor het maken van naammaskers voor bestanden of mappen

Berichtsjablonen van Programmacontrole bewerken

Best practices voor het implementeren van een lijst met toegestane programma's

Naar boven