Kontrola aplikacji zarządza uruchamianiem aplikacji na komputerach użytkowników. Pozwala to na wdrożenie polityki bezpieczeństwa firmy podczas korzystania z aplikacji. Kontrola aplikacji zmniejsza także ryzyko infekcji komputera poprzez ograniczenie dostępu do aplikacji.
Konfiguracja Kontroli aplikacji obejmuje następujące kroki:
Administrator tworzy kategorie aplikacji, którymi chce zarządzać. Kategorie aplikacji są przeznaczone dla wszystkich komputerów w sieci firmowej, niezależnie od grup administracyjnych. Aby utworzyć kategorię, możesz użyć następujących kryteriów: kategoria KL (na przykład: Przeglądarki ), suma kontrolna pliku, dostawca aplikacji i inne kryteria.
Administrator tworzy reguły Kontroli aplikacji w zasadzie dla grupy administracyjnej. Reguła obejmuje kategorie aplikacji i stan uruchamiania aplikacji z tych kategorii: zablokowane lub dozwolone.
Administrator wybiera tryb pracy z aplikacjami, które nie są uwzględnione w żadnej z reguł (lista zablokowanych i lista zezwolonych).
Jeśli użytkownik spróbuje uruchomić niedozwoloną aplikację, Kaspersky Endpoint Security zablokuje uruchomienie aplikacji i wyświetli powiadomienie (patrz rysunek poniżej).
Tryb testowy służy do sprawdzania konfiguracji Kontroli aplikacji. W tym trybie Kaspersky Endpoint Security wykonuje następujące czynności:

Powiadomienie Kontroli aplikacji
Tryby działania Kontroli aplikacji
Komponent Kontrola aplikacji działa w dwóch trybach:
Ten tryb jest włączony domyślnie.
Jeżeli reguły zezwalające Kontroli aplikacji zostaną w pełni skonfigurowane, moduł zablokuje uruchamianie wszystkich nowych aplikacji, które nie zostały zweryfikowane przez administratora sieci LAN, natomiast zezwoli na działanie systemu operacyjnego i zaufanych aplikacji potrzebnych użytkownikom w ich pracy.
Możesz przeczytać zalecenia odnośnie konfiguracji reguł Kontroli aplikacji w trybie listy zezwolonych.
Moduł Kontrola aplikacji można skonfigurować do pracy w tych trybach, korzystając z lokalnego interfejsu Kaspersky Endpoint Security oraz programu Kaspersky Security Center.
Jednakże Kaspersky Security Center oferuje narzędzia, które nie są dostępne w lokalnym interfejsie Kaspersky Endpoint Security, a które są potrzebne do:
Reguły Kontroli aplikacji utworzone w Konsoli administracyjnej Kaspersky Security Center są oparte o niestandardowe kategorie aplikacji, a nie o warunki włączenia i wykluczenia, jak ma to miejsce w przypadku lokalnego interfejsu Kaspersky Endpoint Security.
Dlatego zalecane jest korzystanie z Kaspersky Security Center podczas konfigurowania działania modułu Kontrola aplikacji.
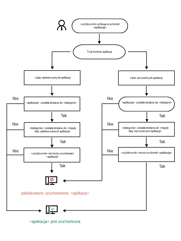
Algorytm działania Kontroli aplikacji
Kaspersky Endpoint Security wykorzystuje algorytm do podjęcia decyzji o uruchomieniu aplikacji (patrz rysunek poniżej).

Algorytm działania Kontroli aplikacji
Ustawienia komponentu Kontrola aplikacji
Parametr |
Opis |
|---|---|
Akcja wykonywana podczas uruchamiania aplikacji zablokowanych przez reguły |
Zastosuj reguły. Kaspersky Endpoint Security zarządza uruchamianiem aplikacji w zależności od wybranego trybu. Przetestuj reguły. Kaspersky Endpoint Security zezwala na uruchomienie aplikacji, która jest blokowana w bieżącym trybie Kontroli aplikacji, ale zapisuje informacje o uruchomieniu aplikacji w raporcie. |
Tryb Kontroli uruchamiania aplikacji |
Możesz wybrać jedną z następujących opcji:
Jeśli wybrany jest tryb Lista zezwolonych, automatycznie tworzone są dwie reguły Kontroli aplikacji:
Nie możesz zmodyfikować ustawień ani usunąć automatycznie utworzonych reguł. Możesz włączyć lub wyłączyć te reguły. |
Kontroluj ładowanie modułów DLL |
Jeśli to pole jest zaznaczone, Kaspersky Endpoint Security kontroluje wczytywanie modułów DLL, gdy użytkownicy próbują uruchomić aplikacje. Informacja na temat modułu DLL i aplikacji, która załadowała ten moduł DLL, jest zapisywana w raporcie. Po włączeniu funkcji kontrolowania wczytywania modułów DLL i sterowników, upewnij się, że w ustawieniach Kontroli aplikacji włączona jest jedna z następujących reguł: domyślna reguła Obraz systemu lub inna reguła, która zawiera kategorię KL „Zaufane certyfikaty” i zapewnia, że moduły DLL i sterowniki są ładowane przed uruchomieniem Kaspersky Endpoint Security. Włączanie kontroli ładowania modułów DLL i sterowników, gdy reguła Obraz systemu jest wyłączona, może spowodować niestabilność systemu operacyjnego. Kaspersky Endpoint Security monitoruje tylko moduły DLL i sterowniki ładowane po zaznaczeniu pola. Po zaznaczeniu pola zalecane jest ponowne uruchomienie komputera w celu zapewnienia, że aplikacja monitoruje wszystkie sterowniki i moduły DLL, w tym te załadowane przed uruchomieniem Kaspersky Endpoint Security. |
Szablony wiadomości o blokowaniu aplikacji |
Wiadomość dotycząca blokowania. Szablon wiadomości wyświetlanej, gdy zostaje wyzwolona reguła Kontroli aplikacji, która blokuje uruchamianie aplikacji. Wiadomość do administratora. Szablon wiadomości, którą użytkownik może wysłać do administratora korporacyjnej sieci LAN, jeśli uważa, że aplikacja została przypadkowo zablokowana. Gdy użytkownik zażąda dostępu, Kaspersky Endpoint Security wyśle zdarzenie do Kaspersky Security Center: Wiadomość do administratora dotycząca zablokowania uruchomienia aplikacji. Opis zdarzenia zawiera wiadomość do administratora z podstawionymi zmiennymi. Możesz przeglądać te zdarzenia w konsoli Kaspersky Security Center przy użyciu wstępnie zdefiniowanego wyboru zdarzeń Żądania użytkowników. Jeśli Twoja organizacja nie ma wdrożyła Kaspersky Security Center lub nie ma połączenia z Serwerem administracyjnym, aplikacja wyśle wiadomość do administratora na podany adres e-mail. |