O Controlo das Aplicações gere a inicialização de aplicações nos computadores dos utilizadores. Isso permite-lhe implementar uma política de segurança empresarial ao usar aplicações. O Controlo das Aplicações reduz também o risco de infeção do computador, restringindo o acesso às aplicações.
A configuração do Controlo das Aplicações consiste nas seguintes etapas:
O administrador cria categorias de aplicações que o administrador deseja gerir. As categorias de aplicações destinam-se a todos os computadores da rede empresarial, independentemente dos grupos de administração. Para criar uma categoria, pode utilizar os seguintes critérios: categoria KL (por exemplo, Navegadores ), hash do ficheiro, fornecedor da aplicação e outros critérios.
O administrador cria regras do Controlo das aplicações na política para o grupo de administração. A regra inclui as categorias de aplicações e o estado de inicialização das aplicações destas categorias: bloqueados ou permitidos. O administrador pode criar muitas regras. Uma aplicação pode corresponder aos critérios de várias regras. A prioridade de uma regra de bloqueio é superior à prioridade de uma regra de permissão. O Kaspersky Endpoint Security verifica se uma aplicação corresponde a uma regra sempre que é iniciado. O Kaspersky Endpoint Security compara sequencialmente a aplicação com todas as regras do Controlo de aplicações.
O administrador escolhe o modo para trabalhar com aplicações que não estão incluídas em nenhuma das regras (lista de bloqueio e lista de permissão de aplicações).
Quando um utilizador tenta iniciar uma aplicação proibida, o Kaspersky Endpoint Security impede o início da aplicação e exibe uma notificação (ver a figura abaixo).
Um modo de teste é fornecido para verificar a configuração do Controlo das Aplicações. Neste modo, o Kaspersky Endpoint Security faz o seguinte:

Notificação do Controlo das Aplicações
Modos de funcionamento do Controlo das Aplicações
O componente Controlo das Aplicações funciona em dois modos:
Este modo do Controlo das Aplicações está ativado, por predefinição.
Se as regras de permissão do Controlo das Aplicações estiverem configuradas na íntegra, o componente bloqueia o arranque de todas as novas aplicações que não tenham sido verificadas pelo administrador da rede local e permite o funcionamento do sistema operativo e das aplicações fiáveis das quais os utilizadores dependem para realizarem as suas tarefas.
Pode ler as recomendações sobre a configuração das Regras de Controlo das Aplicações no modo de lista de permissão.
O Controlo das Aplicações pode ser configurado para funcionar nestes modos com a interface local do Kaspersky Endpoint Security e utilizando o Kaspersky Security Center.
Contudo, o Kaspersky Security Center fornece ferramentas que não estão disponíveis na interface local do Kaspersky Endpoint Security, como por exemplo, as ferramentas necessárias para as tarefas seguintes:
As Regras de Controlo das aplicações criadas na Consola de Administração do Kaspersky Security Center baseiam-se nas suas categorias de aplicações personalizadas e não nas condições de inclusão ou de exclusão, como na interface local do Kaspersky Endpoint Security.
Por este motivo, recomenda-se a utilização do Kaspersky Security Center para configurar o funcionamento do componente Controlo das Aplicações.
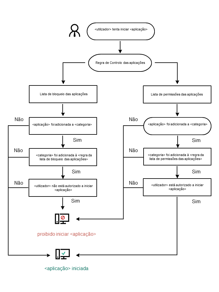
Algoritmo operacional do Controlo das Aplicações
O Kaspersky Endpoint Security usa um algoritmo para tomar uma decisão sobre o início de uma aplicação (ver a figura abaixo).

Algoritmo operacional do Controlo das Aplicações
Definições do componente Controlo das Aplicações
Parâmetro |
Descrição |
|---|---|
Ação no arranque das aplicações bloqueadas por regras |
Aplicar regras. O Kaspersky Endpoint Security gere o arranque das aplicações de acordo com o modo selecionado. Testar regras. O Kaspersky Endpoint Security permite o arranque da aplicação que está bloqueada no modo atual de Controlo das Aplicações, mas regista informação relativamente ao seu arranque no relatório. |
Modo de controlo do arranque da aplicação |
Pode selecionar um das itens opções:
Quando o modo Lista de permissão está selecionado, são automaticamente criadas duas regras de Controlo das Aplicações:
Não pode editar as definições nem eliminar as regras automaticamente criadas. Pode ativar ou desativar estas regras. |
Monitorizar o carregamento de módulos DLL |
Se a caixa de verificação estiver selecionada, o Kaspersky Endpoint Security controla o carregamento dos módulos DLL quando os utilizadores tentam iniciar as aplicações. A informação sobre o módulo DLL e a aplicação que carregou este módulo DLL está registada no relatório. Ao ativar o controlo sobre o carregamento dos módulos DLL e controladores, certifique-se de que uma das regras seguintes está ativada nas definições de Controlo das Aplicações: a regra predefinida Golden Image ou outra regra que contenha a categoria KL Golden Image\Certificados confiáveis", e certifique-se de que os módulos DLL e os controladores fiáveis são carregados antes de iniciar o Kaspersky Endpoint Security. Permitir o controlo do carregamento de módulos DLL e controladores quando a regra Golden Image está desativada pode provocar instabilidade no sistema operativo. O Kaspersky Endpoint Security só monitoriza os módulos DLL e os controladores carregados desde a seleção da caixa de verificação. Depois de selecionar a caixa de verificação, é aconselhável reiniciar o computador para garantir que a aplicação monitoriza todos os módulos DLL e controladores, incluindo os carregados antes de o Kaspersky Endpoint Security iniciar. |
Utilizar verificação estrita da assinatura digital |
Pode selecionar um certificado como condição de ativação para uma regra de Controlo das Aplicações. Se esta caixa de verificação estiver selecionada, o Kaspersky Endpoint Security aplica regras a aplicações assinadas com certificados apenas do arquivo de certificados do sistema fiável. As aplicações assinadas com esse certificado também são consideradas fiáveis pelos componentes de proteção, por exemplo, a tarefa Verificação de software malicioso. No entanto, se especificar um certificado de um armazenamento diferente numa regra de Controlo das Aplicações, o Kaspersky Endpoint Security não aplica essa regra. Se a caixa de verificação estiver desmarcada, o Kaspersky Endpoint Security aplica regras a aplicações assinadas por um certificado do Arquivo de Certificados de Raiz Fiável do Windows. Estas aplicações não fazem parte da zona fiável. Os componentes de proteção monitorizam a atividade dessas aplicações. |
Modelos de mensagens sobre bloqueio de aplicações |
Mensagem sobre o bloqueio. Modelo da mensagem que é apresentada quando é acionada uma regra de Controlo das Aplicações que bloqueia o início de uma aplicação. Mensagem para o administrador. Modelo da mensagem que um utilizador pode enviar ao administrador da LAN empresarial se o utilizador acreditar que uma aplicação foi bloqueada por engano. Depois de o utilizador solicitar acesso, o Kaspersky Endpoint Security envia um evento ao Kaspersky Security Center: Mensagem de bloqueio da inicialização da aplicação para o administrador. A descrição do evento contém uma mensagem para o administrador com variáveis substituídas. Pode visualizar estes eventos na consola do Kaspersky Security Center utilizando a seleção de eventos predefinida User requests. Se a sua organização não tiver o Kaspersky Security Center implementado ou não houver uma ligação ao Servidor de Administração, a aplicação irá enviar uma mensagem ao administrador para o endereço de e-mail especificado. |